Description

Indicateur, mireur verre CLAMP INOX 316L

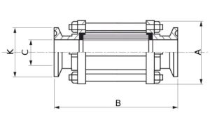
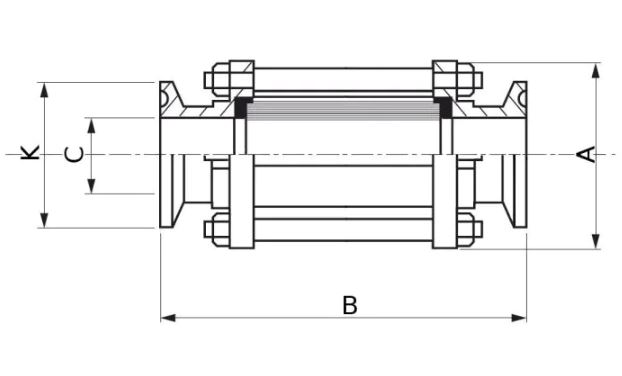
L’indicateur de circulation à raccordement CLAMP en inox 316L est conçu pour les industries exigeantes en matière d’hygiène.
Il permet à l’opérateur de vérifier visuellement la présence, le sens et l’intensité du flux dans une conduite, sans interruption de la production.
Le corps entièrement en acier inoxydable 316L garantit une excellente résistance à la corrosion.
L’assemblage par raccord CLAMP assure un démontage rapide pour la maintenance et le nettoyage, en conformité avec les normes hygiéniques en vigueur.
Disponible du diamètre 25 mm au diamètre 104 mm, il s’adapte aux différentes tailles de tuyauterie industrielle.
Le hublot de visualisation en verre borosilicaté résiste aux chocs thermiques et aux pressions de process courantes.

  • Matériau corps : Inox 316L
  • Raccordement : CLAMP
  • Diamètres disponibles : DN25, DN38, DN51, DN63, DN76, DN104
  • Hublot : verre borosilicaté
  • Joint : EPDM ou PTFE (selon application)
  • Température de service : jusqu’à +140°C (selon joint)

Technique


Photos



Retour sur Raccord INOX WP Retour sur le site Raccord INOX WP

ET COMMANDE DE RACCORDS INOX
Devis et Commande : 1°/ sélectionner les produits qui vous intéressent,
2°/ saisir vos coordonnées en bas de page et cliquer sur "Commander" ou "Demander un devis"
MINIMUM DE COMMANDE 115 € HT

RACCORDS FILETES INOX

Dimensions DN 1/2" à DN 4" - Raccordement male ou femelle ou à souder
Raccord en acier inoxysdable AISI 316 - ISO 4144
Pression maxi PN 20 bars -Températures : -20/+220°C - Matière : Acier inoxydable AISI 316
Raccordements : Filetage selon ISO 7-1 (BSPT). Embout mâle conique (R) et embout femelle cylindrique (Rp).
Agrément Eau Potable : matériau conforme aux dispositions de l'arrêté du 29 mai 1997 modifié.

Adaptateurs Cannelés / Cannelés Gaz BSP Inox 316L

Adaptateurs Cannelés / Cannelés Gaz BSP Inox 316L
Réf. Désignation Quantite Prix H.T. Dispo
34461 Adaptateur Cannelé / Cannelé Gaz BSP INOX 316L - DN5
Diam. Ext. = 10,2 mm
7.30 € En stock
34464 Adaptateur Cannelé / Cannelé Gaz BSP INOX 316L - DN8
Diam. Ext. = 13,5 mm
7.45 € En stock
34454 Adaptateur Cannelé / Cannelé Gaz BSP INOX 316L - DN12
Diam. Ext. = 17,2 mm
7.85 € En stock
34455 Adaptateur Cannelé / Cannelé Gaz BSP INOX 316L - DN15
Diam. Ext. = 21,3 mm
9.75 € En stock
34456 Adaptateur Cannelé / Cannelé Gaz BSP INOX 316L - DN20
Diam. Ext. = 26,9 mm
10.95 € En stock
34457 Adaptateur Cannelé / Cannelé Gaz BSP INOX 316L - DN25
Diam. Ext. = 33,7 mm
14.95 € En stock
34458 Adaptateur Cannelé / Cannelé Gaz BSP INOX 316L - DN32
Diam. Ext. = 42,4 mm
24.60 € En stock
34459 Adaptateur Cannelé / Cannelé Gaz BSP INOX 316L - DN40
Diam. Ext. = 48,3 mm
29.25 € En stock
34460 Adaptateur Cannelé / Cannelé Gaz BSP INOX 316L - DN50
Diam. Ext. = 60,3 mm
38.65 € En stock
34462 Adaptateur Cannelé / Cannelé Gaz BSP INOX 316L - DN65
Diam. Ext. = 76,1 mm
42.35 € En stock
34463 Adaptateur Cannelé / Cannelé Gaz BSP INOX 316L - DN80
Diam. Ext. = 88,9 mm
132.55 € En stock
34453 Adaptateur Cannelé / Cannelé Gaz BSP INOX 316L - DN100
Diam. Ext. = 114,3 mm
216.20 € En stock

Adaptateurs Cannelés / Ecrous tournants Inox 316L

Adaptateurs Cannelés / Ecrous tournants Inox 316L
Réf. Désignation Quantite Prix H.T. Dispo
34695 Tétine avec écrou tournant INOX 316L - 1/4" DN8
Diam. Ext. = 9 mm
9.55 € En stock
34687 Tétine avec écrou tournant INOX 316L - 3/8" DN12
Diam. Ext. = 13.5 mm
11.25 € En stock
34688 Tétine avec écrou tournant INOX 316L - 1/2" DN15
Diam. Ext. = 17.2 mm
13.15 € En stock
34689 Tétine avec écrou tournant INOX 316L - 3/4" DN20
Diam. Ext. = 21.3 mm
15.45 € En stock
34690 Tétine avec écrou tournant INOX 316L - 1" DN25
Diam. Ext. = 26.9 mm
23.50 € En stock
34691 Tétine avec écrou tournant INOX 316L - 1"1/4 DN32
Diam. Ext. = 33.7 mm
38.15 € En stock
34692 Tétine avec écrou tournant INOX 316L - 1"1/2 DN40
Diam. Ext. = 42.4 mm
82.70 € En stock
34693 Tétine avec écrou tournant INOX 316L - 2" DN50
Diam. Ext. = 48.3 mm
116.55 € En stock
34694 Tétine avec écrou tournant INOX 316L - 2"1/2 DN65
Diam. Ext. = 60.3 mm
282.60 € En stock

Adaptateurs Hexagonaux Femelles / Cannelés Gaz BSP Inox 316L

Adaptateurs Hexagonaux Femelles / Cannelés Gaz BSP Inox 316L
Réf. Désignation Quantite Prix H.T. Dispo
34439 Tétine Femelle - pas GAZ BSP INOX 316L - 1/8" DN5
Diam. Ext. = 7 mm
11.60 € En stock
34440 Tétine Femelle - pas GAZ BSP INOX 316L - 1/4" DN8
Diam. Ext. = 9 mm
13.75 € En stock
34432 Tétine Femelle - pas GAZ BSP INOX 316L - 3/8" DN12
Diam. Ext. = 11 mm
16.30 € En stock
34433 Tétine Femelle - pas GAZ BSP INOX 316L - 1/2" DN15
Diam. Ext. = 15 mm
21.10 € En stock
34434 Tétine Femelle - pas GAZ BSP INOX 316L - 3/4" DN20
Diam. Ext. = 20 mm
26.85 € En stock
34435 Tétine Femelle - pas GAZ BSP INOX 316L - 1" DN25
Diam. Ext. = 27 mm
38.60 € En stock
34436 Tétine Femelle - pas GAZ BSP INOX 316L - 1"1/4 DN32
Diam. Ext. = 34 mm
73.30 € En stock
34437 Tétine Femelle - pas GAZ BSP INOX 316L - 1"1/2 DN40
Diam. Ext. = 40 mm
116.80 € En stock
34438 Tétine Femelle - pas GAZ BSP INOX 316L - 2" DN50
Diam. Ext. = 52 mm
189.55 € En stock

Adaptateurs Hexagonaux mâles / Cannelés GAZ Inox 316

Adaptateurs Hexagonaux mâles / Cannelés GAZ Inox 316
Réf. Désignation Quantite Prix H.T. Dispo
34449 Tétine Mâle - pas GAZ BSP INOX 316 - 1/8" DN5
Diam. Ext. = 7 mm
2.80 € En stock
34452 Tétine Mâle - pas GAZ BSP INOX 316 - 1/4" DN8
Diam. Ext. = 9 mm
3.50 € En stock
34442 Tétine Mâle - pas GAZ BSP INOX 316 - 3/8" DN12
Diam. Ext. = 11 mm
4.75 € En stock
34443 Tétine Mâle - pas GAZ BSP INOX 316 - 1/2" DN15
Diam. Ext. = 15 mm
6.20 € En stock
34444 Tétine Mâle - pas GAZ BSP INOX 316 - 3/4" DN20
Diam. Ext. = 20 mm
8.10 € En stock
34445 Tétine Mâle - pas GAZ BSP INOX 316 - 1" DN25
Diam. Ext. = 27 mm
14.50 € En stock
34446 Tétine Mâle - pas GAZ BSP INOX 316 - 1"1/4 DN32
Diam. Ext. = 34 mm
23.25 € En stock
34447 Tétine Mâle - pas GAZ BSP INOX 316 - 1"1/2 DN40
Diam. Ext. = 40 mm
28.15 € En stock
34448 Tétine Mâle - pas GAZ BSP INOX 316 - 2" DN50
Diam. Ext. = 52 mm
40.10 € En stock
34451 Tétine Mâle - pas GAZ BSP INOX 316 - 2"1/2 DN65
Diam. Ext. = 64 mm
116.30 € En stock
34450 Tétine Mâle - pas GAZ BSP INOX 316 - 3" DN80
Diam. Ext. = 76 mm
131.40 € En stock
34441 Tétine Mâle - pas GAZ BSP INOX 316 - 4" DN100
Diam. Ext. = 102 mm
276.65 € En stock

Adaptateurs Mâles / Cannelés Gaz BSP Inox 316L

Adaptateurs Mâles / Cannelés Gaz BSP Inox 316L
Réf. Désignation Quantite Prix H.T. Dispo
34473 Adaptateur Mâle / Cannelé - pas GAZ BSP INOX 316L 1/8" DN5
Diam. Ext. = 10,3 mm
5.70 € En stock
34476 Adaptateur Mâle / Cannelé - pas GAZ BSP INOX 316L 1/4" DN8
Diam. Ext. = 13,5 mm
5.85 € En stock
34466 Adaptateur Mâle / Cannelé - pas GAZ BSP INOX 316L 3/8" DN12
Diam. Ext. = 17,2 mm
6.35 € En stock
34467 Adaptateur Mâle / Cannelé - pas GAZ BSP INOX 316L 1/2" DN15
Diam. Ext. = 21,3 mm
7.70 € En stock
34468 Adaptateur Mâle / Cannelé - pas GAZ BSP INOX 316L 3/4" DN20
Diam. Ext. = 26,9 mm
9.15 € En stock
34469 Adaptateur Mâle / Cannelé - pas GAZ BSP INOX 316L 1" DN25
Diam. Ext. = 33,7 mm
13 € En stock
34470 Adaptateur Mâle / Cannelé - pas GAZ BSP INOX 316L 1"1/4 DN32
Diam. Ext. = 42,4 mm
15.55 € En stock
34471 Adaptateur Mâle / Cannelé - pas GAZ BSP INOX 316L 1"1/2 DN40
Diam. Ext. = 48,3 mm
20 € En stock
34472 Adaptateur Mâle / Cannelé - pas GAZ BSP INOX 316L 2" DN50
Diam. Ext. = 60,3 mm
29.70 € En stock
34474 Adaptateur Mâle / Cannelé - pas GAZ BSP INOX 316L 2"1/2 DN65
Diam. Ext. = 76,1 mm
48.90 € En stock
34475 Adaptateur Mâle / Cannelé - pas GAZ BSP INOX 316L 3" DN80
Diam. Ext. = 88,9 mm
81.20 € En stock
34465 Adaptateur Mâle / Cannelé - pas GAZ BSP INOX 316L 4" DN100
Diam. Ext. = 114,3 mm
128.55 € En stock

Adaptateurs mâles / femelles usinés Gaz BSP Inox 316L

Adaptateurs mâles / femelles usinés Gaz BSP Inox 316L
Réf. Désignation Quantite Prix H.T. Dispo
34485 Adaptateurs mâles / femelles usinés 1/8 - pas GAZ BSP Inox 316L 10.30 € En stock
34487 Adaptateurs mâles / femelles usinés 1/4 - pas GAZ BSP Inox 316L 12 € En stock
34478 Adaptateurs mâles / femelles usinés 3/8' - pas GAZ BSP Inox 316L 14.10 € En stock
34479 Adaptateurs mâles / femelles usinés 1/2' - pas GAZ BSP Inox 316L 16.10 € En stock
34486 Adaptateurs mâles / femelles usinés 1/4 Inox 316L 19.20 € En stock
34480 Adaptateurs mâles / femelles usinés 3/4' - pas GAZ BSP Inox 316L 21.90 € En stock
34481 Adaptateurs mâles / femelles usinés 1' - pas GAZ BSP Inox 316L 44.45 € En stock
34482 Adaptateurs mâles / femelles usinés 1'1/4 - pas GAZ BSP Inox 316L 66.45 € En stock
34483 Adaptateurs mâles / femelles usinés 1'1/2 - pas GAZ BSP Inox 316L 87.55 € En stock
34477 Adaptateurs mâles / femelles usinés 3/8' Inox 316L 106 € En stock
34484 Adaptateurs mâles / femelles usinés 2' - pas GAZ BSP Inox 316L 151.50 € En stock

Bouchons Femelles tête hexa moulés Gaz BSP Inox 316

Bouchons Femelles tête hexa moulés Gaz BSP Inox 316
Réf. Désignation Quantite Prix H.T. Dispo
34520 Bouchons Femelles tête hexa moulés - pas GAZ BSP 1/4 Inox 316 2.85 € En stock
34501 Bouchons Femelles tête hexa moulés - pas GAZ BSP 3/8 Inox 316 3.75 € En stock
34503 Bouchons Femelles tête hexa moulés - pas GAZ BSP 1/2 Inox 316 5.60 € En stock
34505 Bouchons Femelles tête hexa moulés - pas GAZ BSP 3/4 Inox 316 7.50 € En stock
34507 Bouchons Femelles tête hexa moulés - pas GAZ BSP 1' Inox 316 11.05 € En stock
34509 Bouchons Femelles tête hexa moulés - pas GAZ BSP 1'1/4 Inox 316 17.10 € En stock
34511 Bouchons Femelles tête hexa moulés - pas GAZ BSP 1'1/2 Inox 316 19.90 € En stock
34513 Bouchons Femelles tête hexa moulés - pas GAZ BSP 2' Inox 316 32 € En stock
34516 Bouchons Femelles tête hexa moulés - pas GAZ BSP 2'1/2 Inox 316 61.95 € En stock
34518 Bouchons Femelles tête hexa moulés - pas GAZ BSP 3' Inox 316 77.35 € En stock
34499 Bouchons Femelles tête hexa moulés - pas GAZ BSP 4' Inox 316 141.60 € En stock

Bouchons Femelles tête hexa usinés Gaz/BSP Inox 316L

Bouchons Femelles tête hexa usinés Gaz/BSP Inox 316L
Réf. Désignation Quantite Prix H.T. Dispo
34514 Bouchons Femelles tête hexa usinés 1/8 - pas GAZ/BSP Inox 316L 7.35 € En stock
34519 Bouchons Femelles tête hexa usinés 1/4 - pas GAZ/BSP Inox 316L 7.70 € En stock
34500 Bouchons Femelles tête hexa usinés 3/8 - pas GAZ/BSP Inox 316L 8.65 € En stock
34502 Bouchons Femelles tête hexa usinés 1/2 - pas GAZ/BSP Inox 316L 9.90 € En stock
34504 Bouchons Femelles tête hexa usinés 3/4 - pas GAZ/BSP Inox 316L 13.15 € En stock
34506 Bouchons Femelles tête hexa usinés 1' - pas GAZ/BSP Inox 316L 17.95 € En stock
34508 Bouchons Femelles tête hexa usinés 1'1/4 - pas GAZ/BSP Inox 316L 30.30 € En stock
34510 Bouchons Femelles tête hexa usinés 1'1/2 - pas GAZ/BSP Inox 316L 45.35 € En stock
34512 Bouchons Femelles tête hexa usinés 2' - pas GAZ/BSP Inox 316L 67.40 € En stock
34515 Bouchons Femelles tête hexa usinés 2'1/2 - pas GAZ/BSP Inox 316L 131.20 € En stock
34517 Bouchons Femelles tête hexa usinés 3' - pas GAZ/BSP Inox 316L 156.30 € En stock
34498 Bouchons Femelles tête hexa usinés 4' - pas GAZ/BSP Inox 316L 316 € En stock

Bouchons Mâles hexagone creux usinés Gaz/BSP Inox 316L

Bouchons Mâles hexagone creux usinés Gaz/BSP Inox 316L
Réf. Désignation Quantite Prix H.T. Dispo
34528 Bouchons Mâles hexagone creux usinés 1/8 - pas GAZ/BSP Inox 316L 6.80 € En stock
34529 Bouchons Mâles hexagone creux usinés 1/4 - pas GAZ/BSP Inox 316L 7.15 € En stock
34521 Bouchons Mâles hexagone creux usinés 3/8 - pas GAZ/BSP Inox 316L 7.40 € En stock
34522 Bouchons Mâles hexagone creux usinés 1/2 - pas GAZ/BSP Inox 316L 9.95 € En stock
34523 Bouchons Mâles hexagone creux usinés 3/4 - pas GAZ/BSP Inox 316L 13.10 € En stock
34524 Bouchons Mâles hexagone creux usinés 1' - pas GAZ/BSP Inox 316L 20.40 € En stock
34525 Bouchons Mâles hexagone creux usinés 1'1/4 - pas GAZ/BSP Inox 316L 38 € En stock
34526 Bouchons Mâles hexagone creux usinés 1'1/2 - pas GAZ/BSP Inox 316L 50.40 € En stock
34527 Bouchons Mâles hexagone creux usinés 2' - pas GAZ/BSP Inox 316L 80.80 € En stock

Bouchons Mâles tête carrée moulés Gaz/BSP Inox 316

Bouchons Mâles tête carrée moulés Gaz/BSP Inox 316
Réf. Désignation Quantite Prix H.T. Dispo
34497 Bouchons Mâles tête carrée moulés 1/4 - pas GAZ/BSP Inox 316 2.05 € En stock
34488 Bouchons Mâles tête carrée moulés 3/8 - pas GAZ/BSP Inox 316 2.30 € En stock
34495 Bouchons Mâles tête carrée moulés 1/8 - pas GAZ/BSP Inox 316 2.80 € En stock
34489 Bouchons Mâles tête carrée moulés 1/2 - pas GAZ/BSP Inox 316 3.85 € En stock
34490 Bouchons Mâles tête carrée moulés 3/4 - pas GAZ/BSP Inox 316 4.55 € En stock
34491 Bouchons Mâles tête carrée moulés 1' - pas GAZ/BSP Inox 316 7.60 € En stock
34492 Bouchons Mâles tête carrée moulés 1'1/4 - pas GAZ/BSP Inox 316 11.35 € En stock
34493 Bouchons Mâles tête carrée moulés 1'1/2 - pas GAZ/BSP Inox 316 16.60 € En stock
34496 Bouchons Mâles tête carrée moulés 2'1/2 - pas GAZ/BSP Inox 316 22.80 € En stock
34494 Bouchons Mâles tête carrée moulés 2' - pas GAZ/BSP Inox 316 28.35 € En stock

Bouchons Mâles tête hexa moulés Gaz BSP Inox 316

Bouchons Mâles tête hexa moulés Gaz BSP Inox 316
Réf. Désignation Quantite Prix H.T. Dispo
34555 Bouchons Mâles tête hexa moulés - pas GAZ BSP 1/8" (DN6) Inox 316 1.20 € En stock
34562 Bouchons Mâles tête hexa moulés - pas GAZ BSP 1/4" (DN8) Inox 316 2 € En stock
34534 Bouchons Mâles tête hexa moulés - pas GAZ BSP 3/8" (DN10) Inox 316 3.20 € En stock
34537 Bouchons Mâles tête hexa moulés - pas GAZ BSP 1/2" (DN15) Inox 316 3.95 € En stock
34540 Bouchons Mâles tête hexa moulés - pas GAZ BSP 3/4" (DN20) Inox 316 4.40 € En stock
34543 Bouchons Mâles tête hexa moulés - pas GAZ BSP 1" (DN25) Inox 316 11.65 € En stock
34546 Bouchons Mâles tête hexa moulés - pas GAZ BSP 1"1/4 (DN32) Inox 316 17.20 € En stock
34549 Bouchons Mâles tête hexa moulés - pas GAZ BSP 1"1/2 (DN40) Inox 316 19.15 € En stock
34552 Bouchons Mâles tête hexa moulés - pas GAZ BSP 2" (DN50) Inox 316 31.15 € En stock
34557 Bouchons Mâles tête hexa moulés - pas GAZ BSP 2'1/2 Inox 316L 59.15 € En stock
34559 Bouchons Mâles tête hexa moulés - pas GAZ BSP 3' Inox 316 76.20 € En stock
34531 Bouchons Mâles tête hexa moulés - pas GAZ BSP 4' Inox 316L 160.05 € En stock

Bouchons Mâles tête hexa usinés Gaz/BSP Inox 316L

Bouchons Mâles tête hexa usinés Gaz/BSP Inox 316L
Réf. Désignation Quantite Prix H.T. Dispo
34553 Bouchons Mâles tête hexa usinés 1/8' - pas GAZ/BSP Inox 316L 4.15 € En stock
34560 Bouchons Mâles tête hexa usinés 1/4' - pas GAZ/BSP Inox 316L 4.35 € En stock
34532 Bouchons Mâles tête hexa usinés 3/8 - pas GAZ/BSP Inox 316L 5.65 € En stock
34535 Bouchons Mâles tête hexa usinés 1/2 - pas GAZ/BSP Inox 316L 7.55 € En stock
34538 Bouchons Mâles tête hexa usinés 3/4 - pas GAZ/BSP Inox 316L 10.75 € En stock
34541 Bouchons Mâles tête hexa usinés 1' - pas GAZ/BSP Inox 316L 18.15 € En stock
34544 Bouchons Mâles tête hexa usinés 1'1/4 - pas GAZ/BSP Inox 316L 36.70 € En stock
34547 Bouchons Mâles tête hexa usinés 1'1/2 - pas GAZ/BSP Inox 316L 45.85 € En stock
34550 Bouchons Mâles tête hexa usinés 2' - pas GAZ/BSP Inox 316L 64.90 € En stock
34556 Bouchons Mâles tête hexa usinés 2'1/2 - pas GAZ/BSP Inox 316L 138.50 € En stock
34558 Bouchons Mâles tête hexa usinés 3' - pas GAZ/BSP Inox 316L 168.55 € En stock
34530 Bouchons Mâles tête hexa usinés 4' - pas GAZ/BSP Inox 316L 347.40 € En stock

Bouchons Mâle Gaz BSPP tête hexa usinés et à portée de joint Inox 316L

Bouchons Mâle Gaz BSPP tête hexa usinés et à portée de joint Inox 316L
Réf. Désignation Quantite Prix H.T. Dispo
34554 Bouchon Mâle - pas GAZ BSPP tête hexa usiné et à portée de joint 1/8' Inox 316L 4.70 € En stock
34561 Bouchon Mâle - pas GAZ BSPP tête hexa usiné et à portée de joint 1/4' Inox 316L 5.75 € En stock
34533 Bouchons Mâle - pas GAZ BSPP tête hexa usinés et à portée de joint 3/8 Inox 316L 7.90 € En stock
34536 Bouchons Mâle - pas GAZ BSPP tête hexa usinés et à portée de joint 1/2 Inox 316L 11 € En stock
34539 Bouchons Mâle - pas GAZ BSPP tête hexa usinés et à portée de joint 3/4 Inox 316L 18.05 € En stock
34542 Bouchons Mâle - pas GAZ BSPP tête hexa usinés et à portée de joint 1' Inox 316L 25 € En stock
34545 Bouchon Mâle - pas GAZ BSPP tête hexa usiné et à portée de joint 1'1/4 Inox 316L 45.80 € En stock
34548 Bouchon Mâle - pas GAZ BSPP tête hexa usiné et à portée de joint 1'1/2 Inox 316L 80.75 € En stock
34551 Bouchons Mâle - pas GAZ BSPP tête hexa usinés et à portée de joint 2' Inox 316L 101.30 € En stock

Bouchons purge NPT usinés Inox 316L

Bouchons purge NPT usinés Inox 316L
Réf. Désignation Quantite Prix H.T. Dispo
34573 Bouchons purge NPT usinés 1/4 Inox 316L 25.50 € En stock
34572 Bouchons purge NPT usinés 1/2 Inox 316L 41.95 € En stock

Bobines entièrement filetées Gaz BSP 531 Inox 316L

Bobines entièrement filetées Gaz BSP 531 Inox 316L
Réf. Désignation Quantite Prix H.T. Dispo
34571 Bobines entièrement filetées - pas GAZ BSP 1/4 L100 531 Inox 316L 18.15 € En stock
34564 Bobines entièrement filetées - pas GAZ BSP 1/2 L100 531 Inox 316L 18.70 € En stock
34565 Bobines entièrement filetées - pas GAZ BSP 3/4 L100 531 Inox 316L 20.60 € En stock
34566 Bobines entièrement filetées - pas GAZ BSP 1' L100 531 Inox 316L 26 € En stock
34570 Bobines entièrement filetées - pas GAZ BSP 1/8 L100 531 Inox 316L 26.90 € En stock
34563 Bobines entièrement filetées - pas GAZ BSP 3/8 L100 531 Inox 316L 30.15 € En stock
34567 Bobines entièrement filetées - pas GAZ BSP 1'1/4 L100 531 Inox 316L 35.25 € En stock
34568 Bobines entièrement filetées - pas GAZ BSP 1'1/2 L100 531 Inox 316L 38.20 € En stock
34569 Bobines entièrement filetées - pas GAZ BSP 2' L100 531 Inox 316L 63.75 € En stock

Coudes 45° femelles / femelles Gaz BSP Inox 316

Coudes 45° femelles / femelles Gaz BSP Inox 316
Réf. Désignation Quantite Prix H.T. Dispo
34589 Coudes 45° femelles / femelles - pas GAZ BSP 1/8 Inox 316 2.10 € En stock
34592 Coudes 45° femelles / femelles - pas GAZ BSP 1/4 Inox 316 3.25 € En stock
34582 Coudes 45° femelles / femelles - pas GAZ BSP 3/8 Inox 316 5.70 € En stock
34583 Coudes 45° femelles / femelles - pas GAZ BSP 1/2 Inox 316 6.20 € En stock
34584 Coudes 45° femelles / femelles - pas GAZ BSP 3/4 Inox 316 10.65 € En stock
34585 Coudes 45° femelles / femelles - pas GAZ BSP 1' Inox 316 16.20 € En stock
34586 Coudes 45° femelles / femelles - pas GAZ BSP 1'1/4 Inox 316 26.80 € En stock
34587 Coudes 45° femelles / femelles - pas GAZ BSP 1'1/2 Inox 316 28.85 € En stock
34588 Coudes 45° femelles / femelles - pas GAZ BSP 2' Inox 316 49.20 € En stock
34590 Coudes 45° femelles / femelles - pas GAZ BSP 2'1/2 Inox 316 91 € En stock
34591 Coudes 45° femelles / femelles - pas GAZ BSP 3' Inox 316 128.65 € En stock
34581 Coudes 45° femelles / femelles - pas GAZ BSP 4' Inox 316 186.85 € En stock

Coudes 45° mâles / femelles Gaz BSP Inox 316

Coudes 45° mâles / femelles Gaz BSP Inox 316
Réf. Désignation Quantite Prix H.T. Dispo
34620 Coudes 45° mâles / femelles - pas GAZ BSP 1/8 Inox 316 3.60 € En stock
34621 Coudes 45° mâles / femelles - pas GAZ BSP 1/4 Inox 316 5.75 € En stock
34613 Coudes 45° mâles / femelles - pas GAZ BSP 3/8 Inox 316 7.15 € En stock
34614 Coudes 45° mâles / femelles - pas GAZ BSP 1/2 Inox 316 8.55 € En stock
34615 Coudes 45° mâles / femelles - pas GAZ BSP 3/4 Inox 316 15 € En stock
34616 Coudes 45° mâles / femelles - pas GAZ BSP 1' Inox 316 18.05 € En stock
34617 Coudes 45° mâles / femelles - pas GAZ BSP 1'1/4 Inox 316 35.75 € En stock
34618 Coudes 45° mâles / femelles - pas GAZ BSP 1'1/2 Inox 316 54.75 € En stock
34619 Coudes 45° mâles / femelles - pas GAZ BSP 2' Inox 316 56.65 € En stock

Coudes 90° femelles / femelles Gaz/BSP Inox 316

Coudes 90° femelles / femelles Gaz/BSP Inox 316
Réf. Désignation Quantite Prix H.T. Dispo
34594 Coudes 90° femelles / femelles 1/8 - pas GAZ/BSP Inox 316 2.20 € En stock
34597 Coudes 90° femelles / femelles 1/4 - pas GAZ/BSP Inox 316 3.50 € En stock
34575 Coudes 90° femelles / femelles 3/8 - pas GAZ/BSP Inox 316 4.95 € En stock
34576 Coudes 90° femelles / femelles 1/2 - pas GAZ/BSP Inox 316 5.55 € En stock
34577 Coudes 90° femelles / femelles 3/4 - pas GAZ/BSP Inox 316 9.30 € En stock
34578 Coudes 90° femelles / femelles 1' - pas GAZ/BSP Inox 316 15.85 € En stock
34579 Coudes 90° femelles / femelles 1'1/4 - pas GAZ/BSP Inox 316 23.25 € En stock
34580 Coudes 90° femelles / femelles 1'1/2 - pas GAZ/BSP Inox 316 32.95 € En stock
34593 Coudes 90° femelles / femelles 2' - pas GAZ/BSP Inox 316 45.75 € En stock
34595 Coudes 90° femelles / femelles 2'1/2 - pas GAZ/BSP Inox 316 103.10 € En stock
34596 Coudes 90° femelles / femelles 3' - pas GAZ/BSP Inox 316 123.65 € En stock
34574 Coudes 90° femelles / femelles 4' - pas GAZ/BSP Inox 316 221.70 € En stock

Coudes 90° femelles / femelles réduits Gaz BSP Inox 316

Coudes 90° femelles / femelles réduits Gaz BSP Inox 316
Réf. Désignation Quantite Prix H.T. Dispo
34605 Coudes 90° femelles / femelles réduits - pas GAZ BSP 1/4x1/8 Inox 316 5.25 € En stock
34599 Coudes 90° femelles / femelles réduits - pas GAZ BSP 1/2x3/8 Inox 316 7.90 € En stock
34598 Coudes 90° femelles / femelles réduits - pas GAZ BSP 3/8x1/4 Inox 316 8.80 € En stock
34600 Coudes 90° femelles / femelles réduits - pas GAZ BSP 3/4x1/2 Inox 316 11.15 € En stock
34601 Coudes 90° femelles / femelles réduits - pas GAZ BSP 1'x3/4 Inox 316 11.85 € En stock
34602 Coudes 90° femelles / femelles réduits - pas GAZ BSP 1'1/4x1' Inox 316 20.05 € En stock
34603 Coudes 90° femelles / femelles réduits - pas GAZ BSP 1'1/2x1'1/4 Inox 316 34.75 € En stock
34604 Coudes 90° femelles / femelles réduits - pas GAZ BSP 2'x1'1/2 Inox 316 51.75 € En stock

Coudes 90° mâles / femelles Gaz/BSP Inox 316

Coudes 90° mâles / femelles Gaz/BSP Inox 316
Réf. Désignation Quantite Prix H.T. Dispo
34623 Coudes 90° mâles / femelles 1/8 - pas GAZ/BSP Inox 316 3.20 € En stock
34626 Coudes 90° mâles / femelles 1/4 - pas GAZ/BSP Inox 316 4.40 € En stock
34607 Coudes 90° mâles / femelles 3/8 - pas GAZ/BSP Inox 316 5.45 € En stock
34608 Coudes 90° mâles / femelles 1/2 - pas GAZ/BSP Inox 316 7.10 € En stock
34609 Coudes 90° mâles / femelles 3/4 - pas GAZ/BSP Inox 316 10.90 € En stock
34610 Coudes 90° mâles / femelles 1' - pas GAZ/BSP Inox 316 16.40 € En stock
34611 Coudes 90° mâles / femelles 1'1/4 - pas GAZ/BSP Inox 316 24.20 € En stock
34612 Coudes 90° mâles / femelles 1'1/2 - pas GAZ/BSP Inox 316 28.65 € En stock
34622 Coudes 90° mâles / femelles 2' - pas GAZ/BSP Inox 316 48.45 € En stock
34624 Coudes 90° mâles / femelles 2'1/2 - pas GAZ/BSP Inox 316 92.75 € En stock
34625 Coudes 90° mâles / femelles 3' - pas GAZ/BSP Inox 316 121.35 € En stock
34606 Coudes 90° mâles / femelles 4' - pas GAZ/BSP Inox 316 432.40 € En stock

Coudes 90° mâles / mâles grand rayon Gaz BSP Inox 316

Coudes 90° mâles / mâles grand rayon Gaz BSP Inox 316
Réf. Désignation Quantite Prix H.T. Dispo
34634 Coudes 90° mâles / mâles grand rayon - pas GAZ BSP 1/8 Inox 316 17.80 € En stock
34636 Coudes 90° mâles / mâles grand rayon - pas GAZ BSP 1/4 Inox 316 22.50 € En stock
34627 Coudes 90° mâles / mâles grand rayon - pas GAZ BSP 3/8 Inox 316 27.95 € En stock
34628 Coudes 90° mâles / mâles grand rayon - pas GAZ BSP 1/2 Inox 316 38.15 € En stock
34629 Coudes 90° mâles / mâles grand rayon - pas GAZ BSP 3/4 Inox 316 45.75 € En stock
34630 Coudes 90° mâles / mâles grand rayon - pas GAZ BSP 1' Inox 316 70.90 € En stock
34631 Coudes 90° mâles / mâles grand rayon - pas GAZ BSP 1'1/4 Inox 316 117 € En stock
34632 Coudes 90° mâles / mâles grand rayon - pas GAZ BSP 1'1/2 Inox 316 140.60 € En stock
34633 Coudes 90° mâles / mâles grand rayon - pas GAZ BSP 2' Inox 316 267.05 € En stock
34635 Coudes 90° mâles / mâles grand rayon - pas GAZ BSP 2'1/2 Inox 316 281.85 € En stock

Coudes unions femelles / femelles Gaz BSP Inox 316

Coudes unions femelles / femelles Gaz BSP Inox 316
Réf. Désignation Quantite Prix H.T. Dispo
34644 Coudes unions femelles / femelles - pas GAZ BSP 1/4 Inox 316 18.15 € En stock
34637 Coudes unions femelles / femelles - pas GAZ BSP 3/8 Inox 316 22.70 € En stock
34638 Coudes unions femelles / femelles - pas GAZ BSP 1/2 Inox 316 28.15 € En stock
34639 Coudes unions femelles / femelles - pas GAZ BSP 3/4 Inox 316 42.20 € En stock
34640 Coudes unions femelles / femelles - pas GAZ BSP 1' Inox 316 46.75 € En stock
34641 Coudes unions femelles / femelles - pas GAZ BSP 1'1/4 Inox 316 69.20 € En stock
34642 Coudes unions femelles / femelles - pas GAZ BSP 1'1/2 Inox 316 96.55 € En stock
34643 Coudes unions femelles / femelles - pas GAZ BSP 2' Inox 316 173.55 € En stock

Coudes unions mâles / femelles Gaz BSP Inox 316

Coudes unions mâles / femelles Gaz BSP Inox 316
Réf. Désignation Quantite Prix H.T. Dispo
34652 Coudes unions mâles / femelles - pas GAZ BSP 1/4 Inox 316 15.30 € En stock
34645 Coudes unions mâles / femelles - pas GAZ BSP 3/8 Inox 316 27.50 € En stock
34646 Coudes unions mâles / femelles - pas GAZ BSP 1/2 Inox 316 23.75 € En stock
34647 Coudes unions mâles / femelles - pas GAZ BSP 3/4 Inox 316 30.20 € En stock
34648 Coudes unions mâles / femelles - pas GAZ BSP 1' Inox 316 65 € En stock
34649 Coudes unions mâles / femelles - pas GAZ BSP 1'1/4 Inox 316 89.35 € En stock
34650 Coudes unions mâles / femelles - pas GAZ BSP 1'1/2 Inox 316 108.90 € En stock
34651 Coudes unions mâles / femelles - pas GAZ BSP 2' Inox 316 181.60 € En stock

Croix Femelles Gaz/BSP Inox 316

Croix Femelles Gaz/BSP Inox 316
Réf. Désignation Quantite Prix H.T. Dispo
34660 Croix Femelles 1/8 - pas GAZ/BSP Inox 316 9.85 € En stock
34663 Croix Femelles 1/4 - pas GAZ/BSP Inox 316 16.75 € En stock
34653 Croix Femelles 3/8 - pas GAZ/BSP Inox 316 11.30 € En stock
34654 Croix Femelles 1/2 - pas GAZ/BSP Inox 316 12.05 € En stock
34655 Croix Femelles 3/4 - pas GAZ/BSP Inox 316 16.25 € En stock
34656 Croix Femelles 1' - pas GAZ/BSP Inox 316 24 € En stock
34657 Croix Femelles 1'1/4 - pas GAZ/BSP Inox 316 48.20 € En stock
34658 Croix Femelles 1'1/2 - pas GAZ/BSP Inox 316 55.15 € En stock
34659 Croix Femelles 2' - pas GAZ/BSP Inox 316 83 € En stock
34661 Croix Femelles 2'1/2 - pas GAZ/BSP Inox 316 231.45 € En stock
34662 Croix Femelles 3' - pas GAZ/BSP Inox 316 323.75 € En stock

Demi-manchons Gaz BSP Inox 316

Demi-manchons Gaz BSP Inox 316
Réf. Désignation Quantite Prix H.T. Dispo
34671 Demi-manchons - pas GAZ BSP 1/8 Inox 316 2.30 € En stock
34674 Demi-manchons - pas GAZ BSP 1/4 Inox 316 2.45 € En stock
34664 Demi-manchons - pas GAZ BSP 3/8 Inox 316 3.80 € En stock
34665 Demi-manchons - pas GAZ BSP 1/2 Inox 316 6.20 € En stock
34666 Demi-manchons - pas GAZ BSP 3/4 Inox 316 6.75 € En stock
34667 Demi-manchons - pas GAZ BSP 1' Inox 316 6.75 € En stock
34668 Demi-manchons - pas GAZ BSP 1'1/4 Inox 316 13.10 € En stock
34669 Demi-manchons - pas GAZ BSP 1'1/2 Inox 316 13.55 € En stock
34670 Demi-manchons - pas GAZ BSP 2' Inox 316 15.75 € En stock
34672 Demi-manchons - pas GAZ BSP 2'1/2 Inox 316 29.25 € En stock
34673 Demi-manchons - pas GAZ BSP 3' Inox 316 43.40 € En stock

Ecrous hexagonaux Gaz BSP usinés Inox 316L

Ecrous hexagonaux Gaz BSP usinés Inox 316L
Réf. Désignation Quantite Prix H.T. Dispo
34683 Ecrous hexagonaux - pas GAZ BSP usinés 1/8 Inox 316L 5.70 € En stock
34686 Ecrous hexagonaux - pas GAZ BSP usinés 1/4 Inox 316L 6.80 € En stock
34676 Ecrous hexagonaux - pas GAZ BSP usinés 3/8 Inox 316L 7.60 € En stock
34677 Ecrous hexagonaux - pas GAZ BSP usinés 1/2 Inox 316L 9.15 € En stock
34678 Ecrous hexagonaux - pas GAZ BSP usinés 3/4 Inox 316L 11.35 € En stock
34679 Ecrous hexagonaux - pas GAZ BSP usinés 1' Inox 316L 20.10 € En stock
34680 Ecrous hexagonaux - pas GAZ BSP usinés 1'1/4 Inox 316L 27.90 € En stock
34681 Ecrous hexagonaux - pas GAZ BSP usinés 1'1/2 Inox 316L 36.15 € En stock
34682 Ecrous hexagonaux - pas GAZ BSP usinés 2' Inox 316L 62 € En stock
34684 Ecrous hexagonaux - pas GAZ BSP usinés 2'1/2 Inox 316L 89.90 € En stock
34685 Ecrous hexagonaux - pas GAZ BSP usinés 3' Inox 316L 108.20 € En stock
34675 Ecrous hexagonaux - pas GAZ BSP usinés 4' Inox 316L 224.55 € En stock

Joints plats de raccords unions à joints plats usinés PTFE

Réf. Désignation Quantite Prix H.T. Dispo
34766 Joints plats de raccords unions à joints plats usinés 18,4 X 14 X1,5 PTFE 4.55 € En stock
34774 Joints plats de raccords unions à joints plats usinés 15 X 10 X 1,5 PTFE 4.55 € En stock
34767 Joints plats de raccords unions à joints plats usinés 24 X 17 X 2 PTFE 4.55 € En stock
34768 Joints plats de raccords unions à joints plats usinés 30 X 22 X 2 PTFE 5.85 € En stock
34769 Joints plats de raccords unions à joints plats usinés 38 X 29 X 2 PTFE 6.10 € En stock
34770 Joints plats de raccords unions à joints plats usinés 47 X 37 X 2 PTFE 12.35 € En stock
34771 Joints plats de raccords unions à joints plats usinés 53 X 43 X 3 PTFE 16 € En stock
34772 Joints plats de raccords unions à joints plats usinés 62 X 52 X 3 PTFE 17.75 € En stock
34773 Joints plats de raccords unions à joints plats usinés 80 X 69 X 3 PTFE 25.35 € En stock
34775 Joints plats de raccords unions à joints plats usinés 95 X 85 X 3 PTFE 28.65 € En stock
34765 Joints plats de raccords unions à joints plats usinés 120x108x3 PTFE 49.35 € En stock

Joints pour bouchons mâles Gaz BSPP à tête hexa à portée de joint PTFE

Réf. Désignation Quantite Prix H.T. Dispo
34762 Joints pour bouchons mâles - pas GAZ BSPP à tête hexa à portée de joint 1/8 PTFE 6 € En stock
34764 Joints pour bouchons mâles - pas GAZ BSPP à tête hexa à portée de joint 1/4 PTFE 8.45 € En stock
34756 Joints pour bouchons mâles - pas GAZ BSPP à tête hexa à portée de joint 3/8 PTFE 10.40 € En stock
34757 Joints pour bouchons mâles - pas GAZ BSPP à tête hexa à portée de joint 1/2 PTFE 10.40 € En stock
34758 Joints pour bouchons mâles - pas GAZ BSPP à tête hexa à portée de joint 3/4 PTFE 8.30 € En stock
34759 Joints pour bouchons mâles - pas GAZ BSPP à tête hexa à portée de joint 1' PTFE 11.70 € En stock
34760 Joints pour bouchons Mâle - pas GAZ BSPP tête hexa à portée de joint 1'1/4 PTFE 11.70 € En stock
34761 Joints pour bouchons Mâle - pas GAZ BSPP tête hexa à portée de joint 1'1/2 PTFE 17.35 € En stock
34763 Joints pour bouchons mâles - pas GAZ BSPP à tête hexa à portée de joint 2' PTFE 22.30 € En stock

Mamelons hexagonaux Gaz/BSP Inox 316

Mamelons hexagonaux Gaz/BSP Inox 316
Réf. Désignation Quantite Prix H.T. Dispo
34911 Mamelons hexagonaux 1/8 - pas GAZ/BSP Inox 316 1.30 € En stock
34914 Mamelons hexagonaux 1/4 - pas GAZ/BSP Inox 316 3.25 € En stock
34904 Mamelons hexagonaux 3/8 - pas GAZ/BSP Inox 316 3.70 € En stock
34905 Mamelons hexagonaux 1/2 - pas GAZ/BSP Inox 316 4.75 € En stock
34906 Mamelons hexagonaux 3/4 - pas GAZ/BSP Inox 316 7.45 € En stock
34907 Mamelons hexagonaux 1' - pas GAZ/BSP Inox 316 13.25 € En stock
34908 Mamelons hexagonaux 1'1/4 - pas GAZ/BSP Inox 316 17.30 € En stock
34909 Mamelons hexagonaux 1'1/2 - pas GAZ/BSP Inox 316 22.30 € En stock
34910 Mamelons hexagonaux 2' - pas GAZ/BSP Inox 316 32.25 € En stock
34912 Mamelons hexagonaux 2'1/2 - pas GAZ/BSP Inox 316 65 € En stock
34913 Mamelons hexagonaux 3' - pas GAZ/BSP Inox 316 77.45 € En stock
34903 Mamelons hexagonaux 4' Inox 316 161.90 € En stock

Mamelons tubes Gaz/BSP Inox 316L

Mamelons tubes Gaz/BSP Inox 316L
Réf. Désignation Quantite Prix H.T. Dispo
34800 Mamelons tubes 1/8 - pas GAZ/BSP Inox 316L 3.10 € En stock
34803 Mamelons tubes 1/4 - pas GAZ/BSP Inox 316L 3.20 € En stock
34792 Mamelons tubes 3/8 - pas GAZ/BSP Inox 316L 3.55 € En stock
34794 Mamelons tubes 1/2 - pas GAZ/BSP Inox 316L 4.30 € En stock
34795 Mamelons tubes 3/4 - pas GAZ/BSP Inox 316L 5.90 € En stock
34796 Mamelons tubes 1' - pas GAZ/BSP Inox 316L 7.95 € En stock
34797 Mamelons tubes 1'1/4 - pas GAZ/BSP Inox 316L 10.35 € En stock
34798 Mamelons tubes 1'1/2 - pas GAZ/BSP Inox 316L 12.60 € En stock
34799 Mamelons tubes 2' - pas GAZ/BSP Inox 316L 19.35 € En stock
34801 Mamelons tubes 2'1/2 - pas GAZ/BSP Inox 316L 28.75 € En stock
34802 Mamelons tubes 3' - pas GAZ/BSP Inox 316L 42.65 € En stock
34790 Mamelons tubes 4' - pas GAZ/BSP Inox 316L 67.20 € En stock
34791 Mamelons tubes 5' - pas GAZ/BSP Inox 316L 153.70 € En stock
34793 Mamelons tubes 6' - pas GAZ/BSP Inox 316L 414.55 € En stock

Mamelons tubes L100 mm Gaz/BSP Inox 316L

Mamelons tubes L100 mm Gaz/BSP Inox 316L
Réf. Désignation Quantite Prix H.T. Dispo
34843 Mamelons tubes L100 mm 1/8 - pas GAZ/BSP Inox 316L 5.30 € En stock
34850 Mamelons tubes L100 mm 1/4 - pas GAZ/BSP Inox 316L 5.70 € En stock
34807 Mamelons tubes L100 mm 3/8 - pas GAZ/BSP Inox 316L 6.20 € En stock
34820 Mamelons tubes L100 mm 1/2 - pas GAZ/BSP Inox 316L 7.45 € En stock
34834 Mamelons tubes L100 mm 3/4 - pas GAZ/BSP Inox 316L 9.10 € En stock
34835 Mamelons tubes L100 mm 1' - pas GAZ/BSP Inox 316L 12.20 € En stock
34837 Mamelons tubes L100 mm 1'1/4 - pas GAZ/BSP Inox 316L 15.45 € En stock
34839 Mamelons tubes L100 mm 1'1/2 - pas GAZ/BSP Inox 316L 17.40 € En stock
34842 Mamelons tubes L100 mm 2' - pas GAZ/BSP Inox 316L 23.70 € En stock
34846 Mamelons tubes L100 mm 2'1/2 - pas GAZ/BSP Inox 316L 40.20 € En stock
34804 Mamelons tubes L100 mm 4' - pas GAZ/BSP Inox 316L 61.40 € En stock

Mamelons tubes L150mm Gaz/BSP Inox 316L

Mamelons tubes L150mm Gaz/BSP Inox 316L
Réf. Désignation Quantite Prix H.T. Dispo
34816 Mamelons tubes L150mm 1/8 - pas GAZ/BSP Inox 316L 7.45 € En stock
34819 Mamelons tubes L150mm 1/4 - pas GAZ/BSP Inox 316L 7.90 € En stock
34809 Mamelons tubes L150mm 3/8 - pas GAZ/BSP Inox 316L 8.50 € En stock
34821 Mamelons tubes L150mm 3/8 - pas GAZ/BSP L170 Inox 316L 9.05 € En stock
34810 Mamelons tubes L150mm 1/2 - pas GAZ/BSP Inox 316L 9.65 € En stock
34811 Mamelons tubes L150mm 3/4 - pas GAZ/BSP Inox 316L 15.90 € En stock
34812 Mamelons tubes L150mm 1' - pas GAZ/BSP Inox 316L 17.15 € En stock
34813 Mamelons tubes L150mm 1'1/4 - pas GAZ/BSP Inox 316L 21.65 € En stock
34814 Mamelons tubes L150mm 1'1/2 - pas GAZ/BSP Inox 316L 23.85 € En stock
34815 Mamelons tubes L150mm 2' - pas GAZ/BSP Inox 316L 34.05 € En stock
34817 Mamelons tubes L150mm 2'1/2 - pas GAZ/BSP Inox 316L 47.25 € En stock
34818 Mamelons tubes L150mm 3' - pas GAZ/BSP Inox 316L 59.25 € En stock
34808 Mamelons tubes L150mm 4' - pas GAZ/BSP Inox 316L 93.25 € En stock

Mamelons tubes L200mm Gaz/BSP Inox 316L

Mamelons tubes L200mm Gaz/BSP Inox 316L
Réf. Désignation Quantite Prix H.T. Dispo
34830 Mamelons tubes L200mm 1/8 - pas GAZ/BSP Inox 316L 9.75 € En stock
34833 Mamelons tubes L200mm 1/4 - pas GAZ/BSP Inox 316L 12.80 € En stock
34823 Mamelons tubes L200mm 3/8 - pas GAZ/BSP Inox 316L 13.40 € En stock
34824 Mamelons tubes L200mm 1/2 - pas GAZ/BSP Inox 316L 12.40 € En stock
34825 Mamelons tubes L200mm 3/4 - pas GAZ/BSP Inox 316L 15.60 € En stock
34826 Mamelons tubes L200mm 1' - pas GAZ/BSP Inox 316L 21.55 € En stock
34827 Mamelons tubes L200mm 1'1/4 - pas GAZ/BSP Inox 316L 31.25 € En stock
34828 Mamelons tubes L200mm 1'1/2 - pas GAZ/BSP Inox 316L 31.45 € En stock
34831 Mamelons tubes L200mm 2'1/2 - pas GAZ/BSP Inox 316L 62.45 € En stock
34829 Mamelons tubes L200mm 2' - pas GAZ/BSP Inox 316L 63.75 € En stock
34832 Mamelons tubes L200mm 3' - pas GAZ/BSP Inox 316L 75.80 € En stock
34822 Mamelons tubes L200mm 4' - pas GAZ/BSP Inox 316L 117 € En stock

Manchons Gaz BSP Inox 316

Manchons Gaz BSP Inox 316
Réf. Désignation Quantite Prix H.T. Dispo
34786 Manchons - pas GAZ BSP 1/8 Inox 316 2.35 € En stock
34789 Manchons - pas GAZ BSP 1/4 Inox 316 2.90 € En stock
34778 Manchons - pas GAZ BSP 3/8 Inox 316 3.35 € En stock
34780 Manchons - pas GAZ BSP 1/2 Inox 316 5.85 € En stock
34781 Manchons - pas GAZ BSP 3/4 Inox 316 7.25 € En stock
34782 Manchons - pas GAZ BSP 1' Inox 316 8.55 € En stock
34783 Manchons - pas GAZ BSP 1'1/4 Inox 316 15.70 € En stock
34784 Manchons - pas GAZ BSP 1'1/2 Inox 316 18.65 € En stock
34785 Manchons - pas GAZ BSP 2' Inox 316 27.05 € En stock
34787 Manchons - pas GAZ BSP 2'1/2 Inox 316 45.80 € En stock
34788 Manchons - pas GAZ BSP 3' Inox 316 59.50 € En stock
34776 Manchons - pas GAZ BSP 4' Inox 316 96.15 € En stock
34777 Manchons - pas GAZ/BSP étirés sans soudure 5' Inox 316L 512.70 € En stock
34779 Manchons - pas GAZ/BSP étirés sans soudure 6' Inox 316L 714.35 € En stock

Raccord union à joint conique usiné F/F réduit Gaz/BSP Inox 316L

Raccord union à joint conique usiné F/F réduit Gaz/BSP Inox 316L
Réf. Désignation Quantite Prix H.T. Dispo
34744 Raccord union à joint conique usiné F/F réduit 1/4'x1/8' - pas GAZ/BSP Inox 316L 24.40 € En stock
34735 Raccord union à joint conique usiné F/F réduit 3/8'x1/4' - pas GAZ/BSP Inox 316L 21.20 € En stock
34736 Raccord union à joint conique usiné F/F réduit 1/2'x3/8' - pas GAZ/BSP Inox 316L 24.55 € En stock
34737 Raccord union à joint conique usiné F/F réduit 3/4'x1/2' - pas GAZ/BSP Inox 316L 41.10 € En stock
34738 Raccord union à joint conique usiné F/F réduit 1'x3/4'' - pas GAZ/BSP Inox 316L 44.70 € En stock
34739 Raccord union à joint conique usiné F/F réduit 1'1/4x1' - pas GAZ/BSP Inox 316L 68.50 € En stock
34740 Raccord union à joint conique usiné F/F réduit 1'1/2x1'1/4- pas GAZ/BSP Inox 316L 70.10 € En stock
34741 Raccord union à joint conique usiné F/F réduit 2'x1'1/2' - pas GAZ/BSP Inox 316L 118.40 € En stock
34742 Raccord union à joint conique usiné F/F réduit 2'1/2'x2' - pas GAZ/BSP Inox 316L 144.90 € En stock
34743 Raccord union à joint conique usiné F/F réduit 3'x2'1/2' - pas GAZ/BSP Inox 316L 267.40 € En stock

Raccord union à joint conique usiné F/M réduit Gaz BSP Inox 316L

Raccord union à joint conique usiné F/M réduit Gaz BSP Inox 316L
Réf. Désignation Quantite Prix H.T. Dispo
34755 Raccord union à joint conique usiné F/M réduit - pas GAZ BSP 1/4x1/8 Inox 316L 19.15 € En stock
34746 Raccord union à joint conique usiné F/M réduit - pas GAZ BSP 3/8x1/4 Inox 316L 26.70 € En stock
34747 Raccord union à joint conique usiné F/M réduit - pas GAZ BSP 1/2x3/8 Inox 316L 31.80 € En stock
34748 Raccord union à joint conique usiné F/M réduit - pas GAZ BSP 3/4x1/2 Inox 316L 47.55 € En stock
34749 Raccord union à joint conique usiné Femelle/Mâle réduit - pas GAZ BSP 1'x3/4 Inox 316L 65.85 € En stock
34750 Raccord union à joint conique usiné F/M réduit - pas GAZ BSP 1'1/4x1' Inox 316L 123.70 € En stock
34751 Raccord union à joint conique usiné F/M réduit - pas GAZ BSP 1'1/2x1'1/4 Inox 316L 128.70 € En stock
34752 Raccord union à joint conique usiné F/M réduit - pas GAZ BSP 2'x1'1/2' Inox 316L 207.45 € En stock
34753 Raccord union à joint conique usiné F/M réduit - pas GAZ BSP 2'1/2x2' Inox 316L 101.85 € En stock
34754 Raccord union à joint conique usiné F/M réduit - pas GAZ BSP 3'x2'1/2' Inox 316L 603.25 € En stock
34745 Raccord union à joint conique usiné Femelle/Mâle réduit - pas GAZ BSP 4'x3' Inox 316L 405.40 € En stock

Raccord union à joint conique usiné Mâle/Femelle réduits Gaz BSP Inox

Raccord union à joint conique usiné Mâle/Femelle réduits Gaz BSP Inox
Réf. Désignation Quantite Prix H.T. Dispo
34902 Raccord union à joint conique usiné Mâle/Femelle réduits - pas GAZ BSP 1/4'x1/8' Inox 19.60 € En stock
34893 Raccord union à joint conique usiné Mâle/Femelle réduits - pas GAZ BSP 3/8'x1/4' Inox 21.50 € En stock
34894 Raccord union à joint conique usiné Mâle/Femelle réduits - pas GAZ BSP 1/2'x3/8' Inox 30.65 € En stock
34895 Raccord union à joint conique usiné Mâle/Femelle réduits - pas GAZ BSP 3/4'x1/2' Inox 40.35 € En stock
34896 Raccord union à joint conique usiné Mâle/Femelle réduits - pas GAZ BSP 1'x3/4' Inox 53.60 € En stock
34897 Raccord union à joint conique usiné Mâle/Femelle réduits - pas GAZ BSP 1'1/4x1' Inox 131.35 € En stock
34898 Raccord union à joint conique usiné M/F réduit - pas GAZ BSP 1'1/2x1'1/4 Inox 316L 136.30 € En stock
34899 Raccord union à joint conique usiné Mâle/Femelle réduits - pas GAZ BSP 2'x1'1/2 Inox 140 € En stock
34900 Raccord union à joint conique usiné Mâle/Femelle réduits - pas GAZ BSP 2'1/2x2' Inox 185.15 € En stock
34901 Raccord union à joint conique usiné Mâle/Femelle réduits - pas GAZ BSP 3'x2'1/2 Inox 303.85 € En stock
34892 Raccords unions à joints coniques usinés Mâles / Femelles réduits - pas GAZ BSP 4'x3' 605.15 € En stock

Raccord union à joint conique usiné Mâle/Mâle réduits Gaz BSP Inox

Raccord union à joint conique usiné Mâle/Mâle réduits Gaz BSP Inox
Réf. Désignation Quantite Prix H.T. Dispo
34955 Raccord union à joint conique usiné Mâle/Mâle réduits - pas GAZ BSP 1/4'x1/8' Inox 20.55 € En stock
34946 Raccord union à joint conique usiné Mâle/Mâle réduits - pas GAZ BSP 3/8'x1/4' Inox 29.95 € En stock
34947 Raccord union à joint conique usiné Mâle/Mâle réduits - pas GAZ BSP 1/2'x3/8' Inox 36.65 € En stock
34948 Raccord union à joint conique usiné Mâle/Mâle réduits - pas GAZ BSP 3/4'x1/2' Inox 60.05 € En stock
34949 Raccords unions à joints coniques usinés Mâle/Mâle réduits - pas GAZ BSP 1'x3/4' Inox 84.40 € En stock
34950 Raccords unions à joints coniques usinés Mâle/Mâle réduits - pas GAZ BSP 1'1/4x1' Inox 120.90 € En stock
34951 Raccords unions à joints coniques usinés Mâles/Mâles réduits - pas GAZ BSP 1'1/2x1'1/4 138.15 € En stock
34952 Raccord union à joint conique usiné Mâle/Mâle réduits - pas GAZ BSP 2'x1'1/2' Inox 195.50 € En stock
34953 Raccord union à joint conique usiné Mâle/Mâle réduits - pas GAZ BSP 2'1/2'x2' Inox 125.90 € En stock
34954 Raccord union à joint conique usiné Mâle/Mâle réduits - pas GAZ BSP 3'x2'1/2' Inox 582 € En stock
34945 Raccords unions à joints coniques usinés Mâles/Mâles réduits - pas GAZ BSP 4'x3' Inox 620.55 € En stock

Raccords unions à joints coniques moulés Femelles / Femelles Gaz/BSP Inox 316

Raccords unions à joints coniques moulés Femelles / Femelles Gaz/BSP Inox 316
Réf. Désignation Quantite Prix H.T. Dispo
34720 Raccords unions à joints coniques moulés Femelle/Femelle 1/8 - pas GAZ/BSP Inox 316 11.55 € En stock
34726 Raccords unions à joints coniques moulés Femelle/Femelle 1/4 - pas GAZ/BSP Inox 316 10 € En stock
34706 Raccords unions à joints coniques moulés Femelle/Femelle 3/8 - pas GAZ/BSP Inox 316 14.25 € En stock
34708 Raccords unions à joints coniques moulés Femelle/Femelle 1/2 - pas GAZ/BSP Inox 316 13.10 € En stock
34710 Raccords unions à joints coniques moulés Femelle/Femelle 3/4 - pas GAZ/BSP Inox 316 23.10 € En stock
34712 Raccords unions à joints coniques moulés Femelles / Femelles 1' - pas GAZ/BSP Inox 316 36 € En stock
34714 Raccords unions à joints coniques moulés Femelles / Femelles 1'1/4 - pas GAZ/BSP Inox 52 € En stock
34716 Raccords unions à joints coniques moulés Femelle/Femelle 1'1/2 - pas GAZ/BSP Inox316 69.80 € En stock
34718 Raccords unions à joints coniques moulés Femelles / Femelles 2' - pas GAZ/BSP Inox 316 117.85 € En stock
34722 Raccords unions à joints coniques moulés Femelles / Femelles 2'1/2 - pas GAZ/BSP Inox 145.30 € En stock
34724 Raccords unions à joints coniques moulés Femelles / Femelles 3' - pas GAZ/BSP Inox 316 227.40 € En stock

Raccords unions à joints coniques moulés Mâles / Femelles Gaz/BSP Inox 316

Raccords unions à joints coniques moulés Mâles / Femelles Gaz/BSP Inox 316
Réf. Désignation Quantite Prix H.T. Dispo
34876 Raccords unions à joints coniques moulés Mâles / Femelles 1/8 - pas GAZ/BSP Inox 316 11.30 € En stock
34882 Raccords unions à joints coniques moulés Mâles / Femelles 1/4 - pas GAZ/BSP Inox 316 24.20 € En stock
34862 Raccords unions à joints coniques moulés Mâles / Femelles 3/8 - pas GAZ/BSP Inox 316 19.35 € En stock
34864 Raccords unions à joints coniques moulés Mâles / Femelles 1/2 - pas GAZ/BSP Inox 316 19.50 € En stock
34866 Raccords unions à joints coniques moulés Mâles / Femelles 3/4 - pas GAZ/BSP Inox 316 23.95 € En stock
34868 Raccords unions à joints coniques moulés Mâles / Femelles 1' - pas GAZ/BSP Inox 316 37.85 € En stock
34870 Raccords unions à joints coniques moulés Mâles / Femelles 1'1/4 - pas GAZ/BSP Inox 57.90 € En stock
34872 Raccords unions à joints coniques moulés Mâles / Femelles 1'1/2 - pas GAZ/BSP Inox 64.95 € En stock
34874 Raccords unions à joints coniques moulés Mâles / Femelles 2' - pas GAZ/BSP Inox 316 99.25 € En stock
34880 Raccords unions à joints coniques moulés Mâles / Femelles 3' - pas GAZ/BSP Inox 316 212.80 € En stock
34878 Raccords unions à joints coniques moulés Mâles / Femelles 2'1/2 - pas GAZ/BSP Inox 261.45 € En stock

Raccords unions à joints coniques moulés Mâles / Mâles Gaz/BSP Inox 316

Raccords unions à joints coniques moulés Mâles / Mâles Gaz/BSP Inox 316
Réf. Désignation Quantite Prix H.T. Dispo
34931 Raccords unions à joints coniques moulés Mâles / Mâles 1/8 - pas GAZ/BSP Inox 316 15.40 € En stock
34935 Raccords unions à joints coniques moulés Mâles / Mâles 1/4 - pas GAZ/BSP Inox 316 19.50 € En stock
34917 Raccords unions à joints coniques moulés Mâles / Mâles 3/8 - pas GAZ/BSP Inox 316 17 € En stock
34919 Raccords unions à joints coniques moulés Mâles / Mâles 1/2 - pas GAZ/BSP Inox 316 35.70 € En stock
34921 Raccords unions à joints coniques moulés Mâles / Mâles 3/4 - pas GAZ/BSP Inox 316 31.15 € En stock
34923 Raccords unions à joints coniques moulés Mâles / Mâles 1' - pas GAZ/BSP Inox 316 43.70 € En stock
34925 Raccords unions à joints coniques moulés Mâles / Mâles 1'1/4 - pas GAZ/BSP Inox 316 58.80 € En stock
34927 Raccords unions à joints coniques moulés Mâles / Mâles 1'1/2 - pas GAZ/BSP Inox 316 88.30 € En stock
34929 Raccords unions à joints coniques moulés Mâles / Mâles 2' - pas GAZ/BSP Inox 316 128 € En stock

Raccords unions à joints coniques usinés Femelle/Femelle Gaz/BSP Inox 316L

Raccords unions à joints coniques usinés Femelle/Femelle Gaz/BSP Inox 316L
Réf. Désignation Quantite Prix H.T. Dispo
34719 Raccords unions à joints coniques usinés Femelle/Femelle 1/8 - pas GAZ/BSP Inox 316L 24.70 € En stock
34725 Raccords unions à joints coniques usinés Femelle/Femelle 1/4 - pas GAZ/BSP Inox 316L 24.90 € En stock
34705 Raccords unions à joints coniques usinés Femelle/Femelle 3/8 - pas GAZ/BSP Inox 316L 28.40 € En stock
34707 Raccords unions à joints coniques usinés Femelle/Femelle 1/2 - pas GAZ/BSP Inox 316L 34.35 € En stock
34709 Raccords unions à joints coniques usinés Femelle/Femelle 3/4 - pas GAZ/BSP Inox 316L 42.30 € En stock
34711 Raccords unions à joints coniques usinés Femelle/Femelle 1' - pas GAZ/BSP Inox 316L 63.35 € En stock
34713 Raccords unions à joints coniques usinés Femelles / Femelles 1'1/4 - pas GAZ/BSP Inox 73.95 € En stock
34715 Raccords unions à joints coniques usinés Femelles / Femelles 1'1/2 - pas GAZ/BSP Inox 94.10 € En stock
34717 Raccords unions à joints coniques usinés Femelle/Femelle 2' - pas GAZ/BSP Inox 316L 111.20 € En stock
34721 Raccords unions à joints coniques usinés Femelles / Femelles 2'1/2 - pas GAZ/BSP Inox 313.20 € En stock
34723 Raccords unions à joints coniques usinés Femelle/Femelle 3' - pas GAZ/BSP Inox 316L 388.45 € En stock
34704 Raccords unions à joints coniques usinés Femelle/Femelle 4' - pas GAZ/BSP Inox 316L 801.20 € En stock

Raccords unions à joints coniques usinés Mâles / Femelles Gaz/BSP Inox 316L

Raccords unions à joints coniques usinés Mâles / Femelles Gaz/BSP Inox 316L
Réf. Désignation Quantite Prix H.T. Dispo
34875 Raccords unions à joints coniques usinés Mâles / Femelles 1/8' - pas GAZ/BSP Inox 22.20 € En stock
34881 Raccords unions à joints coniques usinés Mâles / Femelles 1/4' - pas GAZ/BSP Inox 24.30 € En stock
34861 Raccords unions à joints coniques usinés Mâles / Femelles 3/8' - pas GAZ/BSP Inox 25.25 € En stock
34863 Raccords unions à joints coniques usinés Mâles / Femelles 1/2' - pas GAZ/BSP Inox 27.70 € En stock
34865 Raccords unions à joints coniques usinés Mâles / Femelles 3/4' - pas GAZ/BSP Inox 40.90 € En stock
34867 Raccords unions à joints coniques usinés Mâles / Femelles 1' - pas GAZ/BSP Inox 316L 49.60 € En stock
34869 Raccords unions à joints coniques usinés Mâles / Femelles 1'1/4 - pas GAZ/BSP Inox 68.05 € En stock
34871 Raccords unions à joints coniques usinés Mâles / Femelles 1'1/2 - pas GAZ/BSP Inox 71.85 € En stock
34873 Raccords unions à joints coniques usinés Mâles / Femelles 2' - pas GAZ/BSP Inox 316L 93.35 € En stock
34877 Raccords unions à joints coniques usinés Mâles / Femelles 2'1/2 - pas GAZ/BSP Inox 223.90 € En stock
34879 Raccords unions à joints coniques usinés Mâles / Femelles 3' - pas GAZ/BSP Inox 316L 340.25 € En stock
34860 Raccords unions à joints coniques usinés Mâles / Femelles 4' - pas GAZ/BSP Inox 316L 515.35 € En stock

Raccords unions à joints coniques usinés Mâles / Mâles Gaz/BSP Inox 316L

Raccords unions à joints coniques usinés Mâles / Mâles Gaz/BSP Inox 316L
Réf. Désignation Quantite Prix H.T. Dispo
34930 Raccords unions à joints coniques usinés Mâles / Mâles 1/8' - pas GAZ/BSP Inox 316L 23.30 € En stock
34934 Raccords unions à joints coniques usinés Mâles / Mâles 1/4' - pas GAZ/BSP Inox 316L 24.30 € En stock
34916 Raccords unions à joints coniques usinés Mâles / Mâles 3/8' - pas GAZ/BSP Inox 316L 26.70 € En stock
34918 Raccords unions à joints coniques usinés Mâles / Mâles 1/2' - pas GAZ/BSP Inox 316L 31 € En stock
34920 Raccords unions à joints coniques usinés Mâles / Mâles 3/4' - pas GAZ/BSP Inox 316L 51.85 € En stock
34922 Raccords unions à joints coniques usinés Mâles / Mâles 1' - pas GAZ/BSP Inox 316L 62.70 € En stock
34924 Raccords unions à joints coniques usinés Mâles / Mâles 1'1/4 - pas GAZ/BSP Inox 316L 100.65 € En stock
34926 Raccords unions à joints coniques usinés Mâles / Mâles 1'1/2 - pas GAZ/BSP Inox 316L 107.45 € En stock
34928 Raccords unions à joints coniques usinés Mâles / Mâles 2' - pas GAZ/BSP Inox 316L 143.70 € En stock
34932 Raccords unions à joints coniques usinés Mâles / Mâles 2'1/2 - pas GAZ/BSP Inox 316L 264.30 € En stock
34933 Raccords unions à joints coniques usinés Mâles / Mâles 3' - pas GAZ/BSP Inox 316L 438.90 € En stock
34915 Raccords unions à joints coniques usinés Mâles / Mâles 4' - pas GAZ/BSP Inox 316L 710.60 € En stock

Raccords unions à joints plats usinés Femelles / cannelés Gaz BSP Inox 316L

Raccords unions à joints plats usinés Femelles / cannelés Gaz BSP Inox 316L
Réf. Désignation Quantite Prix H.T. Dispo
34703 Tétine Femelle avec Raccord union à joint plat usiné - pas GAZ BSP Inox 316L 1/4'DN8
Diam. Ext. = 13,5 mm
21.85 € En stock
34696 Tétine Femelle avec Raccord union à joint plat usiné - pas GAZ BSP Inox 316L 3/8' DN12
Diam. Ext. = 17,2 mm
23.50 € En stock
34697 Tétine Femelle avec Raccord union à joint plat usiné - pas GAZ BSP Inox 316L 1/2'DN15
Diam. Ext. = 21,3 mm
31.35 € En stock
34698 Tétine Femelle avec Raccord union à joint plat usiné - pas GAZ BSP Inox 316L 3/4'DN20
Diam. Ext. = 26,9 mm
47.45 € En stock
34699 Tétine Femelle avec Raccord union à joint plat usiné - pas GAZ BSP Inox 316L 1'DN25
Diam. Ext. = 33,7 mm
65.20 € En stock
34700 Tétine Femelle avec Raccord union à joint plat usiné - pas GAZ BSP Inox 316L 1'1/4DN32
Diam. Ext. = 42,4 mm
90.55 € En stock
34701 Tétine Femelle avec Raccord union à joint plat usiné - pas GAZ BSP Inox 316L 1'1/2DN40
Diam. Ext. = 48,3 mm
96.85 € En stock
34702 Tétine Femelle avec Raccord union à joint plat usiné - pas GAZ BSP Inox 316L 2'DN50
Diam. Ext. = 60,3 mm
161.15 € En stock

Raccords unions à joints plats usinés Femelles / Femelles Gaz/BSP Inox 316L

Raccords unions à joints plats usinés Femelles / Femelles Gaz/BSP Inox 316L
Réf. Désignation Quantite Prix H.T. Dispo
34734 Raccords unions à joints plats usinés Femelles / Femelles 1/4 - pas GAZ/BSP Inox 316L 35.55 € En stock
34727 Raccords unions à joints plats usinés Femelles / Femelles 3/8 - pas GAZ/BSP Inox 316L 37.25 € En stock
34728 Raccords unions à joints plats usinés Femelles / Femelles 1/2 - pas GAZ/BSP Inox 316L 44.15 € En stock
34729 Raccords unions à joints plats usinés Femelles / Femelles 3/4 - pas GAZ/BSP Inox 316L 51 € En stock
34730 Raccords unions à joints plats usinés Femelles / Femelles 1' - pas GAZ/BSP Inox 316L 75.15 € En stock
34731 Raccords unions à joints plats usinés Femelle/Femelle 1'1/4 - pas GAZ/BSP Inox 316L 87.35 € En stock
34732 Raccords unions à joints plats usinés Femelle/Femelle 1'1/2 - pas GAZ/BSP Inox 316L 124.05 € En stock
34733 Raccords unions à joints plats usinés Femelles / Femelles 2' - pas GAZ/BSP Inox 316L 139.25 € En stock

Raccords unions à joints plats usinés Mâles / cannelésGaz BSP Inox 316L

Raccords unions à joints plats usinés Mâles / cannelésGaz BSP Inox 316L
Réf. Désignation Quantite Prix H.T. Dispo
34859 Tétine Mâle avec Raccord union à joint plat usiné - pas GAZ BSP Inox 316L 1/4'DN8
Diam. Ext. = 13,5 mm
24.30 € En stock
34852 Tétine Mâle avec Raccord union à joint plat usiné - pas GAZ BSP Inox 316L 3/8'DN12
Diam. Ext. = 17,2 mm
25.10 € En stock
34853 Tétine Mâle avec Raccord union à joint plat usiné - pas GAZ BSP Inox 316L 1/2'DN15
Diam. Ext. = 21,3 mm
34.75 € En stock
34854 Tétine Mâle avec Raccord union à joint plat usiné - pas GAZ BSP Inox 316L 3/4'DN20
Diam. Ext. = 26,9 mm
54.20 € En stock
34855 Tétine Mâle avec Raccord union à joint plat usiné - pas GAZ BSP Inox 316L 1' DN25
Diam. Ext. = 33,7 mm
71.40 € En stock
34856 Tétine Mâle avec Raccord union à joint plat usiné - pas GAZ BSP Inox 316L 1'1/4DN32
Diam. Ext. = 42,4 mm
97.10 € En stock
34857 Tétine Mâle avec Raccord union à joint plat usiné - pas GAZ BSP Inox 316L 1'1/2 DN40
Diam. Ext. = 48,3 mm
103.70 € En stock
34858 Tétine Mâle avec Raccord union à joint plat usiné - pas GAZ BSP Inox 316L 2'DN50
Diam. Ext. = 60,3 mm
170.45 € En stock

Raccords unions à joints plats usinés Mâles / Femelles Gaz/BSP Inox 316L

Raccords unions à joints plats usinés Mâles / Femelles Gaz/BSP Inox 316L
Réf. Désignation Quantite Prix H.T. Dispo
34891 Raccords unions à joints plats usinés Mâles / Femelles 1/4' - pas GAZ/BSP Inox 316L 21.10 € En stock
34883 Raccords unions à joints plats usinés Mâles / Femelles 3/8' - pas GAZ/BSP Inox 316L 22 € En stock
34884 Raccords unions à joints plats usinés Mâles / Femelles 1/2' - pas GAZ/BSP Inox 316L 29.75 € En stock
34885 Raccords unions à joints plats usinés Mâles / Femelles 3/4' - pas GAZ/BSP Inox 316L 45.95 € En stock
34886 Raccords unions à joints plats usinés Mâles / Femelles 1' - pas GAZ/BSP Inox 316L 56.85 € En stock
34887 Raccords unions à joints plats usinés Mâles / Femelles 1'1/4 - pas GAZ/BSP Inox 316L 85.95 € En stock
34888 Raccords unions à joints plats usinés Mâles / Femelles 1'1/2 - pas GAZ/BSP Inox 316L 89.65 € En stock
34889 Raccords unions à joints plats usinés Mâles / Femelles 2' - pas GAZ/BSP Inox 316L 117.65 € En stock
34890 Raccords unions à joints plats usinés Mâles / Femelles 2'1/2 - pas GAZ/BSP Inox 316L 218.90 € En stock

Raccords unions à joints plats usinés Mâles/Mâles Gaz/BSP Inox 316L

Raccords unions à joints plats usinés Mâles/Mâles Gaz/BSP Inox 316L
Réf. Désignation Quantite Prix H.T. Dispo
34944 Raccords unions à joints plats usinés Mâles/Mâles 1/4' - pas GAZ/BSP Inox 316L 23.50 € En stock
34936 Raccords unions à joints plats usinés Mâles/Mâles 3/8' - pas GAZ/BSP Inox 316L 25.50 € En stock
34937 Raccords unions à joints plats usinés Mâles/Mâles 1/2' - pas GAZ/BSP Inox 316L 33.10 € En stock
34938 Raccords unions à joints plats usinés Mâles/Mâles 3/4' - pas GAZ/BSP Inox 316L 52.70 € En stock
34939 Raccords unions à joints plats usinés Mâles/Mâles 1' - pas GAZ/BSP Inox 316L 63.05 € En stock
34940 Raccords unions à joints plats usinés Mâles/Mâles 1'1/4 - pas GAZ/BSP Inox 316L 92.45 € En stock
34941 Raccords unions à joints plats usinés Mâles/Mâles 1'1/2 - pas GAZ/BSP Inox 316L 96.45 € En stock
34942 Raccords unions à joints plats usinés Mâles/Mâles 2' - pas GAZ/BSP Inox 316L 126.95 € En stock
34943 Raccords unions à joints plats usinés Mâles/Mâles 2'1/2 - pas GAZ/BSP Inox 316L 258.05 € En stock

Réductions Femelles / Femelles moulées Gaz/BSP Inox 316

Réductions Femelles / Femelles moulées Gaz/BSP Inox 316
Réf. Désignation Quantite Prix H.T. Dispo
34958 Réductions Femelles / Femelles moulées 3/8x1/4 - pas GAZ/BSP Inox 316 6.95 € En stock
34963 Réductions Femelles / Femelles moulées 1/2x1/4 - pas GAZ/BSP Inox 316 6.60 € En stock
34960 Réductions Femelles / Femelles moulées 1/2x3/8 - pas GAZ/BSP Inox 316 7.15 € En stock
34965 Réductions Femelles / Femelles moulées 3/4x3/8 - pas GAZ/BSP Inox 316 8.60 € En stock
34967 Réductions Femelles / Femelles moulées 3/4x1/2 - pas GAZ/BSP Inox 316 8.90 € En stock
34972 Réductions Femelles / Femelles moulées 1'x1/2 - pas GAZ/BSP Inox 316 14.50 € En stock
34974 Réductions Femelles / Femelles moulées 1'x3/4 - pas GAZ/BSP Inox 316 16.05 € En stock
34981 Réductions Femelles / Femelles moulées 1'1/4x1' - pas GAZ/BSP Inox 316 21 € En stock
34979 Réductions Femelles / Femelles moulées 1'1/4x3/4 - pas GAZ/BSP Inox 316L 24.05 € En stock
34984 Réductions Femelles / Femelles moulées 1'1/2x3/4 - pas GAZ/BSP Inox 316 22.55 € En stock
34986 Réductions Femelles / Femelles moulées 1'1/2x1' - pas GAZ/BSP Inox 316 29.80 € En stock
34988 Réductions Femelles / Femelles moulées 1'1/2x1'1/4- pas GAZ/BSP Inox 316 31.55 € En stock
34992 Réductions Femelles / Femelles moulées 2'x1'1/4 - pas GAZ/BSP Inox 316 40.85 € En stock
34994 Réductions Femelles / Femelles moulées 2'x1'1/2 - pas GAZ/BSP Inox 316 47.85 € En stock

Réductions Femelles / Femelles usinées Gaz/BSP Inox 316L

Réductions Femelles / Femelles usinées Gaz/BSP Inox 316L
Réf. Désignation Quantite Prix H.T. Dispo
34999 Réductions Femelles / Femelles usinées 1/4x1/8 - pas GAZ/BSP Inox 316L 11 € En stock
34957 Réductions Femelles / Femelles usinées 3/8x1/4 - pas GAZ/BSP Inox 316L 12.20 € En stock
34956 Réductions Femelles / Femelles usinées 3/8x1/8 - pas GAZ/BSP Inox 316L 12.20 € En stock
34961 Réductions Femelles / Femelles usinées 1/2x 1/8 - pas GAZ/BSP Inox 316L 14.25 € En stock
34962 Réductions Femelles / Femelles usinées 1/2x1/4 - pas GAZ/BSP Inox 316L 14.40 € En stock
34959 Réductions Femelles / Femelles usinées 1/2x3/8 - pas GAZ/BSP Inox 316L 14.25 € En stock
34968 Réductions Femelles / Femelles usinées 3/4' X 1/8 - pas GAZ/BSP Inox 316L 21.85 € En stock
34966 Réductions Femelles / Femelles usinées 3/4x1/2 - pas GAZ/BSP Inox 316L 21.85 € En stock
34969 Réductions Femelles / Femelles usinées 3/4x1/4 - pas GAZ/BSP Inox 316L 21.85 € En stock
34964 Réductions Femelles / Femelles usinées 3/4x3/8 - pas GAZ/BSP Inox 316L 21.85 € En stock
34975 Réductions Femelles / Femelles usinées 1'x1/4 - pas GAZ/BSP Inox 316L 33.65 € En stock
34973 Réductions Femelles / Femelles usinées 1'x3/4 - pas GAZ/BSP Inox 316L 33.65 € En stock
34970 Réductions Femelles / Femelles usinées 1'x3/8 - pas GAZ/BSP Inox 316L 33.65 € En stock
34971 Réductions Femelles / Femelles usinées 1'x1/2 - pas GAZ/BSP Inox 316L 33.70 € En stock
34980 Réductions Femelles / Femelles usinées 1'1/4x1' - pas GAZ/BSP Inox 316L 53.30 € En stock
34977 Réductions Femelles / Femelles usinées 1'1/4x1/2 - pas GAZ/BSP Inox 316L 53.30 € En stock
34978 Réductions Femelles / Femelles usinées 1'1/4x3/4 - pas GAZ/BSP Inox 316L 53.30 € En stock
34976 Réductions Femelles / Femelles usinées 1'1/4x3/8 - pas GAZ/BSP Inox 316L 53.30 € En stock
34985 Réductions Femelles / Femelles usinées 1'1/2x1' - pas GAZ/BSP Inox 316L 65.50 € En stock
34987 Réductions Femelles / Femelles usinées 1'1/2x1'1/4- pas GAZ/BSP Inox 316L 65.50 € En stock
34982 Réductions Femelles / Femelles usinées 1'1/2x1/2 - pas GAZ/BSP Inox 316L 65.50 € En stock
34983 Réductions Femelles / Femelles usinées 1'1/2x3/4 - pas GAZ/BSP Inox 316L 65.50 € En stock
34989 Réductions Femelles / Femelles usinées 2'x3/4' - pas GAZ/BSP Inox 316L 95.80 € En stock
34990 Réductions Femelles / Femelles usinées 2'x1' - pas GAZ/BSP Inox 316L 100.40 € En stock
34991 Réductions Femelles / Femelles usinées 2'x1'1/4 - pas GAZ/BSP Inox 316L 101.10 € En stock
34993 Réductions Femelles / Femelles usinées 2'x1'1/2 - pas GAZ/BSP Inox 316L 104.95 € En stock
34996 Réductions Femelles / Femelles usinées 2'1/2x2' - pas GAZ/BSP Inox 316L 183.15 € En stock
34995 Réductions Femelles / Femelles usinées 2'1/2x1'1/2 - pas GAZ/BSP Inox 316L 185.35 € En stock
34997 Réductions Femelles / Femelles usinées 3'x2' - pas GAZ/BSP Inox 316L 342.40 € En stock
34998 Réductions Femelles / Femelles usinées 3'x2'1/2 - pas GAZ/BSP Inox 316L 342.40 € En stock

Réductions Femelles / Mâle usinés Gaz/BSP Inox 316L

Réductions Femelles / Mâle usinés Gaz/BSP Inox 316L
Réf. Désignation Quantite Prix H.T. Dispo
35020 Réductions Femelles / Mâle usinés 1/4x1/8 - pas GAZ/BSP Inox 316L 10.30 € En stock
35001 Réductions Femelles / Mâle usinés 3/8 X 1/4 - pas GAZ/BSP Inox 316L 12.45 € En stock
35000 Réductions Femelles / Mâle usinés 3/8x1/8 - pas GAZ/BSP Inox 316L 12.45 € En stock
35004 Réductions Femelles / Mâle usinés 1/2x1/4 - pas GAZ/BSP Inox 316L 17.10 € En stock
35003 Réductions Femelles / Mâle usinés 1/2x1/8 - pas GAZ/BSP Inox 316L 17.10 € En stock
35002 Réductions Femelles / Mâle usinés 1/2x3/8 - pas GAZ/BSP Inox 316L 17.10 € En stock
35006 Réductions Femelles / Mâle usinés 3/4x1/2 - pas GAZ/BSP Inox 316L 21.65 € En stock
35005 Réductions Femelles / Mâle usinés 3/4x3/8 - pas GAZ/BSP Inox 316L 21.65 € En stock
35008 Réductions Femelles / Mâle usinés 1'x1/2 - pas GAZ/BSP Inox 316L 32.55 € En stock
35009 Réductions Femelles / Mâle usinés 1'x3/4 - pas GAZ/BSP Inox 316L 32.55 € En stock
35007 Réductions Femelles / Mâle usinés 1'x3/8 - pas GAZ/BSP Inox 316L 32.55 € En stock
35011 Réductions Femelles / Mâle usinés 1'1/4x1' - pas GAZ/BSP Inox 316L 65.80 € En stock
35010 Réductions Femelles / Mâle usinés 1'1/4x3/4 - pas GAZ/BSP Inox 316L 65.80 € En stock
35012 Réductions Femelles / Mâle usinés 1'1/2x1' - pas GAZ/BSP Inox 316L 94.10 € En stock
35013 Réductions Femelles / Mâle usinés 1'1/2x1'1/4- pas GAZ/BSP Inox 316L 94.10 € En stock
35014 Réductions Femelles / Mâle usinés 2'x1'1/4 - pas GAZ/BSP Inox 316L 124.40 € En stock
35015 Réductions Femelles / Mâle usinés 2'x1'1/2 - pas GAZ/BSP Inox 316L 135.75 € En stock
35016 Réductions Femelles / Mâle usinés 2'1/2x1'1/2 - pas GAZ/BSP Inox 316L 207.50 € En stock
35017 Réductions Femelles / Mâle usinés 2'1/2x2' - pas GAZ/BSP Inox 316L 207.50 € En stock
35018 Réductions Femelles / Mâle usinés 3'x2' - pas GAZ/BSP Inox 316L 260.60 € En stock
35019 Réductions Femelles / Mâle usinés 3'x2'1/2 - pas GAZ/BSP Inox 316L 288.75 € En stock

Réductions Mâles / Femelles moulé Gaz/BSP Inox 316L

Réductions Mâles / Femelles moulé Gaz/BSP Inox 316L
Réf. Désignation Quantite Prix H.T. Dispo
35082 Réductions Mâles / Femelles moulées 1/4x1/8 - pas GAZ/BSP Inox 316 3.25 € En stock
35026 Réductions Mâles / Femelles moulées 3/8x1/8 - pas GAZ/BSP Inox 316 2.50 € En stock
35028 Réductions Mâles / Femelles moulées 3/8x1/4 - pas GAZ/BSP Inox 316 5.35 € En stock
35030 Réductions Mâles / Femelles moulées 1/2X3/8 - pas GAZ/BSP Inox 316 3.40 € En stock
35034 Réductions Mâles / Femelles moulées 1/2x1/4 - pas GAZ/BSP Inox 316 3.40 € En stock
35041 Réductions Mâles / Femelles moulé 3/4x1/4 - pas GAZ/BSP Inox 316L 5.35 € En stock
35036 Réductions Mâles / Femelles moulées 3/4x3/8 - pas GAZ/BSP Inox 316 6.80 € En stock
35038 Réductions Mâles / Femelles moulées 3/4x1/2 - pas GAZ/BSP Inox 316 5.85 € En stock
35047 Réductions Mâles / Femelles moulées 1'x3/4 - pas GAZ/BSP Inox 316 7.40 € En stock
35045 Réductions Mâles / Femelles moulées 1'x1/2 - pas GAZ/BSP Inox 316 8.35 € En stock
35043 Réductions Mâles / Femelles moulées 1'x3/8 - pas GAZ/BSP Inox 316 2 € En stock
35051 Réductions Mâles / Femelles moulées 1'1/4x1/2 - pas GAZ/BSP Inox 316 8.25 € En stock
35052 Réductions Mâles / Femelles moulées 1'1/4x3/4 - pas GAZ/BSP Inox 316 11.90 € En stock
35054 Réductions Mâles / Femelles moulées 1'1/4x1' - pas GAZ/BSP Inox 316 14.75 € En stock
35056 Réductions Mâles / Femelles moulées 1'1/2x1/2 - pas GAZ/BSP Inox 316 22 € En stock
35058 Réductions Mâles / Femelles moulées 1'1/2x3/4 - pas GAZ/BSP Inox 316 15 € En stock
35060 Réductions Mâles / Femelles moulées 1'1/2x1' - pas GAZ/BSP Inox 316 21.50 € En stock
35062 Réductions Mâles / Femelles moulées 1'1/2x1'1/4- pas GAZ/BSP Inox 316 18.30 € En stock
35070 Réductions Mâles / Femelles moulées 2' x1'1/2 - pas GAZ/BSP Inox 316 32.65 € En stock
35068 Réductions Mâles / Femelles moulées 2'x1'1/4 - pas GAZ/BSP Inox 316 37.25 € En stock
35066 Réductions Mâles / Femelles moulées 2'x1' - pas GAZ/BSP Inox 316 52.25 € En stock
35076 Réductions Mâles / Femelles moulées 2'1/2x2' - pas GAZ/BSP Inox 316 81.95 € En stock
35074 Réductions Mâles / Femelles moulées 2'1/2x1'1/2 - pas GAZ/BSP Inox 316 92.20 € En stock
35080 Réductions Mâles / Femelles moulées 3'x2'1/2 - pas GAZ/BSP Inox 316 14.80 € En stock
35078 Réductions Mâles / Femelles moulées 3'x2' - pas GAZ/BSP Inox 316 117.45 € En stock

Réductions Mâles / Femelles usinées Gaz/BSP Inox 316L

Réductions Mâles / Femelles usinées Gaz/BSP Inox 316L
Réf. Désignation Quantite Prix H.T. Dispo
35081 Réductions Mâles / Femelles usinées 1/4x1/8 - pas GAZ/BSP Inox 316L 6.65 € En stock
35027 Réductions Mâles / Femelles usinées 3/8x1/4 - pas GAZ/BSP Inox 316L 7.45 € En stock
35032 Réductions Mâles / Femelles usinées 1/2x1/8 - pas GAZ/BSP Inox 316L 6.25 € En stock
35033 Réductions Mâles / Femelles usinées 1/2x1/4 - pas GAZ/BSP Inox 316L 9.65 € En stock
35029 Réductions Mâles / Femelles usinées 1/2x3/8 - pas GAZ/BSP Inox 316L 9.65 € En stock
35037 Réductions Mâles / Femelles usinées 3/4x1/2 - pas GAZ/BSP Inox 316L 13.90 € En stock
35035 Réductions Mâles / Femelles usinées 3/4x3/8 - pas GAZ/BSP Inox 316L 13.90 € En stock
35040 Réductions Mâles / Femelles usinées 3/4x1/4 - pas GAZ/BSP Inox 316L 13.90 € En stock
35039 Réductions Mâles / Femelles usinées 3/4x1/4 NPT/BRIGGS Inox 316L 16.15 € En stock
35046 Réductions Mâles / Femelles usinées 1'x3/4 - pas GAZ/BSP Inox 316L 19.60 € En stock
35044 Réductions Mâles / Femelles usinées 1'x1/2 - pas GAZ/BSP Inox 316L 19.60 € En stock
35042 Réductions Mâles / Femelles usinées 1'x3/8 - pas GAZ/BSP Inox 316L 19.60 € En stock
35048 Réductions Mâles / Femelles usinées 1'x1/4 - pas GAZ/BSP Inox 316L 19.60 € En stock
35053 Réductions Mâles / Femelles usinées 1'1/4x1' - pas GAZ/BSP Inox 316L 39.05 € En stock
35050 Réductions Mâles / Femelles usinées 1'1/4x1/2 - pas GAZ/BSP Inox 316L 39.05 € En stock
35049 Réductions Mâles / Femelles usinées 1'1/4x3/8 - pas GAZ/BSP Inox 316L 39.05 € En stock
35061 Réductions Mâles / Femelles usinées 1'1/2x1'1/4- pas GAZ/BSP Inox 316L 47.35 € En stock
35059 Réductions Mâles / Femelles usinées 1'1/2x1' - pas GAZ/BSP Inox 316L 47.35 € En stock
35057 Réductions Mâles / Femelles usinées 1'1/2x3/4 - pas GAZ/BSP Inox 316L 47.35 € En stock
35055 Réductions Mâles / Femelles usinées 1'1/2x1/2 - pas GAZ/BSP Inox 316L 47.30 € En stock
35065 Réductions Mâles / Femelles usinées 2'x1' - pas GAZ/BSP Inox 316L 74.45 € En stock
35067 Réductions Mâles / Femelles usinées 2'x1'1/4 - pas GAZ/BSP Inox 316L 74.45 € En stock
35069 Réductions Mâles / Femelles usinées 2'x1'1/2 - pas GAZ/BSP Inox 316L 74.45 € En stock
35063 Réductions Mâles / Femelles usinées 2'x1/2' - pas GAZ/BSP Inox 316L 74.45 € En stock
35064 Réductions Mâles / Femelles usinées 2'x3/4 - pas GAZ/BSP Inox 316L 74.45 € En stock
35071 Réductions Mâles / Femelles usinées 2'1/2x1' - pas GAZ/BSP Inox 316L 130.25 € En stock
35072 Réductions Mâles / Femelles usinées 2'1/2x1'1/4 - pas GAZ/BSP Inox 316L 130.25 € En stock
35073 Réductions Mâles / Femelles usinées 2'1/2x1'1/2 - pas GAZ/BSP Inox 316L 130.25 € En stock
35075 Réductions Mâles / Femelles usinées 2'1/2x2' - pas GAZ/BSP Inox 316L 130.25 € En stock
35077 Réductions Mâles / Femelles usinées 3'x2' - pas GAZ/BSP Inox 316L 194.25 € En stock
35079 Réductions Mâles / Femelles usinées 3'x2'1/2 - pas GAZ/BSP Inox 316L 194.25 € En stock
35021 Réductions Mâles / Femelles usinées 4'x2' - pas GAZ/BSP Inox 316L 329.95 € En stock
35022 Réductions Mâles / Femelles usinées 4'x2'1/2 - pas GAZ/BSP Inox 316L 348.25 € En stock
35023 Réductions Mâles / Femelles usinées 4'x3' - pas GAZ/BSP Inox 316L 366.40 € En stock
35024 Réductions Mâles / Femelles usinées 5'X4' - pas GAZ/BSP Inox 316L 722.55 € En stock

Réductions Mâles / Mâles moulées Gaz/BSP Inox 316

Réductions Mâles / Mâles moulées Gaz/BSP Inox 316
Réf. Désignation Quantite Prix H.T. Dispo
35134 Réductions Mâles / Mâles moulées 1/4x1/8 - pas GAZ/BSP Inox 316 3.55 € En stock
35086 Réductions Mâles / Mâles moulées 3/8 x1/8 - pas GAZ/BSP Inox 316 3.70 € En stock
35088 Réductions Mâles / Mâles moulées 3/8x1/4 - pas GAZ/BSP Inox 316 3.70 € En stock
35093 Réductions Mâles / Mâles moulées 1/2x1/4 - pas GAZ/BSP Inox 316 4.25 € En stock
35090 Réductions Mâles / Mâles moulées 1/2x3/8 - pas GAZ/BSP Inox 316 4.25 € En stock
35100 Réductions Mâles / Mâles moulées 3/4 x 1/4 - pas GAZ/BSP Inox 316 6.20 € En stock
35095 Réductions Mâles / Mâles moulées 3/4x3/8 - pas GAZ/BSP Inox 316 6.55 € En stock
35097 Réductions Mâles / Mâles moulées 3/4x1/2 - pas GAZ/BSP Inox 316 8.15 € En stock
35105 Réductions Mâles / Mâles moulées 1'x3/4 - pas GAZ/BSP Inox 316 11.20 € En stock
35103 Réductions Mâles / Mâles moulées 1'x1/2 - pas GAZ/BSP Inox 316 9.10 € En stock
35112 Réductions Mâles / Mâles moulées 1'1/4x1' - pas GAZ/BSP Inox 316 17.95 € En stock
35110 Réductions Mâles / Mâles moulées 1'1/4x3/4 - pas GAZ/BSP Inox 316 14.60 € En stock
35108 Réductions Mâles / Mâles moulées 1'1/4x1/2 - pas GAZ/BSP Inox 316 17.60 € En stock
35119 Réductions Mâles / Mâles moulées 1'1/2x1'1/4 - pas GAZ/BSP Inox 316 19.80 € En stock
35117 Réductions Mâles / Mâles moulées 1'1/2x1' - pas GAZ/BSP Inox 316 24.40 € En stock
35115 Réductions Mâles / Mâles moulées 1'1/2x3/4 - pas GAZ/BSP Inox 316 19.80 € En stock
35122 Réductions Mâles / Mâles moulées 2' x 1' - pas GAZ/BSP Inox 316 58.20 € En stock
35124 Réductions Mâles / Mâles moulées 2' x1'1/4 - pas GAZ/BSP Inox 316 39 € En stock
35126 Réductions Mâles / Mâles moulées 2' x1'1/2 - pas GAZ/BSP Inox 316 40.65 € En stock
35129 Réductions Mâles / Mâles moulées 2'1/2x2 - pas GAZ/BSP Inox 316 117.45 € En stock
35131 Réductions Mâles / Mâles moulées 3'x2' - pas GAZ/BSP Inox 316 42.85 € En stock
35084 Réductions Mâles / Mâles moulées 4' x 3' - pas GAZ/BSP Inox 316 378.30 € En stock

Réductions Mâles / Mâles usinées Gaz/BSP Inox 316L

Réductions Mâles / Mâles usinées Gaz/BSP Inox 316L
Réf. Désignation Quantite Prix H.T. Dispo
35133 Réductions Mâles / Mâles usinées 1/4x1/8 - pas GAZ/BSP Inox 316L 9.05 € En stock
35087 Réductions Mâles / Mâles usinées 3/8x1/4 - pas GAZ/BSP Inox 316L 10.65 € En stock
35085 Réductions Mâles / Mâles usinées 3/8x1/8 - pas GAZ/BSP Inox 316L 10.65 € En stock
35089 Réductions Mâles / Mâles usinées 1/2x3/8 - pas GAZ/BSP Inox 316L 13.95 € En stock
35092 Réductions Mâles / Mâles usinées 1/2x1/4 - pas GAZ/BSP Inox 316L 13.95 € En stock
35091 Réductions Mâles / Mâles usinées 1/2x1/8 - pas GAZ/BSP Inox 316L 13.95 € En stock
35096 Réductions Mâles / Mâles usinées 3/4x1/2 - pas GAZ/BSP Inox 316L 18.80 € En stock
35094 Réductions Mâles / Mâles usinées 3/4x3/8 - pas GAZ/BSP Inox 316L 18.80 € En stock
35099 Réductions Mâles / Mâles usinées 3/4x1/4 - pas GAZ/BSP Inox 316L 18.80 € En stock
35098 Réductions Mâles / Mâles usinées 3/4x1/8 - pas GAZ/BSP Inox 316L 18.80 € En stock
35104 Réductions Mâles / Mâles usinées 1'x3/4 - pas GAZ/BSP Inox 316L 34.50 € En stock
35102 Réductions Mâles / Mâles usinées 1'x1/2 - pas GAZ/BSP Inox 316L 34.50 € En stock
35101 Réductions Mâles / Mâles usinées 1'x3/8 - pas GAZ/BSP Inox 316L 34.50 € En stock
35111 Réductions Mâles / Mâles usinées 1'1/4x1' - pas GAZ/BSP Inox 316L 62 € En stock
35109 Réductions Mâles / Mâles usinées 1'1/4x3/4 - pas GAZ/BSP Inox 316L 62 € En stock
35107 Réductions Mâles / Mâles usinées 1'1/4x1/2 - pas GAZ/BSP Inox 316L 62.05 € En stock
35106 Réductions Mâles / Mâles usinées 1'1/4x3/8 - pas GAZ/BSP Inox 316L 62 € En stock
35118 Réductions Mâles / Mâles usinées 1'1/2x1'1/4- pas GAZ/BSP Inox 316L 72.40 € En stock
35116 Réductions Mâles / Mâles usinées 1'1/2x1' - pas GAZ/BSP Inox 316L 72.40 € En stock
35114 Réductions Mâles / Mâles usinées 1'1/2x3/4 - pas GAZ/BSP Inox 316L 73.05 € En stock
35113 Réductions Mâles / Mâles usinées 1'1/2x1/2 - pas GAZ/BSP Inox 316L 72.40 € En stock
35120 Réductions Mâles / Mâles usinées 2'x3/4' - pas GAZ/BSP Inox 316L 117.25 € En stock
35121 Réductions Mâles / Mâles usinées 2'x1' - pas GAZ/BSP Inox 316L 117.25 € En stock
35123 Réductions Mâles / Mâles usinées 2'x1'1/4 - pas GAZ/BSP Inox 316L 117.25 € En stock
35125 Réductions Mâles / Mâles usinées 2'x1'1/2 - pas GAZ/BSP Inox 316L 117.25 € En stock
35127 Réductions Mâles / Mâles usinées 2'1/2x1'1/2 - pas GAZ/BSP Inox 316L 190.50 € En stock
35128 Réductions Mâles / Mâles usinées 2'1/2x2' - pas GAZ/BSP Inox 316L 194.80 € En stock
35130 Réductions Mâles / Mâles usinées 3'x2' - pas GAZ/BSP Inox 316L 308.90 € En stock
35132 Réductions Mâles / Mâles usinées 3'x2'1/2 - pas GAZ/BSP Inox 316L 308.90 € En stock
35083 Réductions Mâles / Mâles usinées 4'x3' - pas GAZ/BSP Inox 316L 308.90 € En stock

Té femelle Gaz/BSP Inox 316

Té femelle Gaz/BSP Inox 316
Réf. Désignation Quantite Prix H.T. Dispo
35150 Tés femelles 1/8 - pas GAZ/BSP Inox 316 3.50 € En stock
35153 Tés femelles 1/4 - pas GAZ/BSP Inox 316 5.20 € En stock
35143 Tés femelles 3/8 - pas GAZ/BSP Inox 316 7.15 € En stock
35144 Tés femelles 1/2 - pas GAZ/BSP Inox 316 8.25 € En stock
35145 Tés femelles 3/4 - pas GAZ/BSP Inox 316 13.60 € En stock
35146 Té femelle 1' - pas GAZ/BSP Inox 316 21.50 € En stock
35147 Tés femelles 1'1/4 - pas GAZ/BSP Inox 316 29.55 € En stock
35148 Tés femelles 1'1/2 - pas GAZ/BSP Inox 316 43.60 € En stock
35149 Tés femelles 2' - pas GAZ/BSP Inox 316 63.45 € En stock
35151 Tés femelles 2'1/2 - pas GAZ/BSP Inox 316 122.55 € En stock
35152 Tés femelles 3' - pas GAZ/BSP Inox 316 169.90 € En stock
35142 Tés femelles 4' - pas GAZ/BSP Inox 316 303.60 € En stock

Tés femelles réduits Gaz BSP Inox 316

Tés femelles réduits Gaz BSP Inox 316
Réf. Désignation Quantite Prix H.T. Dispo
35161 Tés femelles réduits - pas GAZ BSP 1/4x1/8 Inox 316 9.25 € En stock
35154 Tés femelles réduits - pas GAZ BSP 3/8x1/4 Inox 316 11.60 € En stock
35155 Tés femelles réduits - pas GAZ BSP 1/2x3/8 Inox 316 11.40 € En stock
35156 Tés femelles réduits - pas GAZ BSP 3/4x1/2 Inox 316 17.05 € En stock
35157 Tés femelles réduits - pas GAZ BSP 1'x3/4 Inox 316 31.85 € En stock
35158 Tés femelles réduits - pas GAZ BSP 1'1/4x1' Inox 316 34.90 € En stock
35159 Tés femelles réduits - pas GAZ BSP 1'1/2x1'1/4 Inox 316 53.85 € En stock
35160 Tés femelles réduits - pas GAZ BSP 2'x1'1/2 Inox 316 90.30 € En stock

Traversées de cloison Gaz BSP Inox 316L

Traversées de cloison Gaz BSP Inox 316L
Réf. Désignation Quantite Prix H.T. Dispo
35141 Traversées de cloison - pas GAZ BSP 1/2'x1/4' Inox 316L 25.05 € En stock
35135 Traversées de cloison - pas GAZ BSP 1/2'x3/8' Inox 316L 29.70 € En stock
35136 Traversées de cloison - pas GAZ BSP 3/4'x1/2' Inox 316L 31.85 € En stock
35137 Traversées de cloison - pas GAZ BSP 1'x3/4 Inox 316L 48.55 € En stock
35138 Traversées de cloison - pas GAZ BSP 1'1/4x1' Inox 316L 84.85 € En stock
35139 Traversées de cloison - pas GAZ BSP 1'1/2x1'1/4 Inox 316L 112.15 € En stock
35140 Traversées de cloison - pas GAZ BSP 2'x1'1/2' Inox 316L 185.35 € En stock

VANNES INOX

Vanne 1/4 de tour - Inox 316 - Femelle/Femelle - 180°C - gamme ECO

Utilisation : Produits chimiques, industries pétrochimiques, installations hydrauliques, de chauffage, distribution air, eau.
Vanne à sphère- 2 pièces - Raccordement femelle/femelle - Filetage ISO 7-1
Passage intégral - PN64 - Inox AISI 316 (CF8M)
Corps, axe et sphère : inox 316 - Poignée + écrou : inox 304
- Sièges : PTFE - Presse-étoupe : PTFE
Température -10°C + 180°C
Poignée cadenassable

Vanne 1/4 de tour - Inox 316 - Femelle/Femelle - 180°C - gamme ECO
Réf. Désignation Diamètre E/S Quantite Prix H.T. Dispo
29520 Vanne 1/4 de tour- Corps INOX 316L - Femelle/Femelle - 1/4"
- 2 pièces -20 ° C à 180 °C - Corps INOX 316L - Siège PTFE - Passage Intégral - PN = 64
1/4" F/F 27 € En stock
28801 Vanne 1/4 de tour- Corps INOX 316L - Femelle/Femelle - 3/8"
- 2 pièces -20 ° C à 180 °C - Corps INOX 316L - Siège PTFE - Passage Intégral - PN = 64
3/8" F/F 37 € En stock
28799 Vanne 1/4 de tour- Corps INOX 316L - Femelle/Femelle - 3/4"
- 2 pièces -20 ° C à 180 °C - Corps INOX 316L - Siège PTFE - Passage Intégral - PN = 64
3/4" F/F 46 € En stock
29521 Vanne 1/4 de tour- Corps INOX 316L - Femelle/Femelle - 1"1/4
- 2 pièces -20 ° C à 180 °C - Corps INOX 316L - Siège PTFE - Passage Intégral - PN = 50
1"1/4 F/F 88 € En stock
28803 Vanne 1/4 de tour- Corps INOX 316L - Femelle/Femelle - 2"
- 2 pièces -20 ° C à 180 °C - Corps INOX 316L - Siège PTFE - Passage Intégral - PN = 40
2" F/F 168 € En stock

Vanne 1/4 de tour - Inox 316 - Femelle/Femelle - 180°C

Utilisation : Industries chimiques et pharmaceutiques, industries pétrochimiques, installations hydrauliques, air comprimé.
PS : voir détails par série.
TS : -20 °C à +180 °C.
Passage intégral.
Construction :
- Sphère Acier Inox ASTM A351 CF8M.
- Presse-étoupe PTFE
- Axe inéjectable : Acier Inox ASTM A182 F316.
- Siège PTFE.
- Poignée cadenassable.

Vanne 1/4 de tour - Inox 316 - Femelle/Femelle - 180°C
Réf. Désignation Diamètre E/S Quantite Prix H.T. Dispo
30739 Vanne 1/4 de tour - Corps INOX 316L - Femelle/Femelle - 1/4"
- 2 pièces -20 ° C à 180 °C - Corps INOX 316L - Siège PTFE - Passage Intégral - PN = 25
1/4" F/F 25 € En stock
30626 Vanne 1/4 de tour - Corps INOX 316L - Femelle/Femelle - 3/8"
- 2 pièces -20 ° C à 180 °C - Corps INOX 316L - Siège PTFE - Passage Intégral - PN = 25
3/8" F/F 25 € En stock
26533 Vanne 1/4 de tour - Corps INOX 316L - Femelle/Femelle - 1/2"
- 2 pièces -20 ° C à 180 °C - Corps INOX 316L - Siège PTFE - Passage Intégral - PN = 25
1/2" F/F 32 € En stock
26534 Vanne 1/4 de tour - Corps INOX 316L - Femelle/Femelle - 3/4"
- 2 pièces -20 ° C à 180 °C - Corps INOX 316L - Siège PTFE - Passage Intégral - PN = 25
3/4" F/F 45 € En stock
26779 Vanne 1/4 de tour - Corps INOX 316L - Femelle/Femelle - 1"
- 2 pièces -20 ° C à 180 °C - Corps INOX 316L - Siège PTFE - Passage Intégral - PN = 25
1" F/F 49 € En stock
Vanne 1/4 de tour - Corps INOX 316L - Femelle/Femelle - 1" 1/4
- 2 pièces -20 ° C à 180 °C - Corps INOX 316L - Siège PTFE - Passage Intégral - PN = 25
1" 1/4 F/F 76 € 5/6 jours
Vanne 1/4 de tour - Corps INOX 316L - Femelle/Femelle - 1" 1/2
- 2 pièces -20 ° C à 180 °C - Corps INOX 316L - Siège PTFE - Passage Intégral - PN = 25
1" 1/2 F/F 115 € 5/6 jours
28722 Vanne 1/4 de tour - Corps INOX 316L - Femelle/Femelle - 2"
- 2 pièces -20 ° C à 180 °C - Corps INOX 316L - Siège PTFE - Passage Intégral - PN = 25
2" F/F 181 € 5/6 jours
Vanne 1/4 de tour - Corps INOX 316L - Femelle/Femelle - 2" 1/2
- 2 pièces -20 ° C à 180 °C - Corps INOX 316L - Siège PTFE - Passage Intégral - PN = 25
2" 1/2 F/F 395 € 5/6 jours
Vanne 1/4 de tour - Corps INOX 316L - Femelle/Femelle - 3"
- 2 pièces -20 ° C à 180 °C - Corps INOX 316L - Siège PTFE - Passage Intégral - PN = 25
3" F/F 564 € 5/6 jours
Vanne 1/4 de tour - Corps INOX 316L - Femelle/Femelle - 4"
- 2 pièces -20 ° C à 180 °C - Corps INOX 316L - Siège PTFE - Passage Intégral - PN = 25
4" F/F 695 € 5/6 jours

Vanne 1/4 de tour - Inox 316 - Male/Femelle - 180°C - gamme ECO

Utilisation : Produits chimiques, industries pétrochimiques, installations hydrauliques, de chauffage, distribution air, eau. Vanne à sphère - 2 pièces - Raccordement male/femelle - Filetage ISO 7-1
Passage intégral - PN64 - Inox AISI 316 (CF8M)
Corps, axe et sphère : Inox 316 - Poignée + écrou : Inox 304
- Sièges : PTFE - Presse-étoupe : PTFE
Température -10°C + 180°C
Poignée cadenassable

Vanne 1/4 de tour - Inox 316 - Male/Femelle - 180°C - gamme ECO
Réf. Désignation Diamètre E/S Quantite Prix H.T. Dispo
29261 Vanne 1/4 de tour - corps INOX 316L - Male/Femelle - 1/4"
- 2 pièces -20 ° C à 180 °C - Corps INOX 316L - Siège PTFE - Passage Intégral PN = 64
1/4" M/F 27 € En stock
29256 Vanne 1/4 de tour - Corps INOX 316L - Male/Femelle - 3/8"
- 2 pièces -20 ° C à 180 °C - Corps INOX 316L - Siège PTFE - Passage Intégral PN = 64
3/8" M/F 29 € En stock

Vanne 1/4 de tour - INOX - Male/femelle 180°

A sphère - 2 pièces - PN64 - Passage intégral
Corps, axe et sphère : inox 316 (CF8M) - Poignée + écrou : inox 304
Sièges : PTFE - Presse-étoupe : PTFE - Température : -10°C à + 150 °C
Filetage : ISO 7-1 - Taraudé BSP - Poignée cadenassable
Conforme à la DESP 97/23/CE

Vanne 1/4 de tour - INOX - Male/femelle 180°
Réf. Désignation Diamètre E/S Quantite Prix H.T. Dispo
28234 Vanne 1/4 de tour - 1/4" Male / Femelle - INOX 1/4 " M/F 39 € En stock
28235 Vanne 1/4 de tour - 3/8" Male / Femelle - INOX 3/8 " M/F 42 € En stock
28236 Vanne 1/4 de tour - 1/2" (DN15) Male / Femelle - INOX 1/2 " M/F 45 € En stock
28237 Vanne 1/4 de tour - 3/4" (DN20) Male / Femelle - INOX 3/4 " M/F 63 € En stock
28238 Vanne 1/4 de tour - 1" (DN25) Male / Femelle - INOX 1 " M/F 84 € En stock
28239 Vanne 1/4 de tour - 1"1/4 (DN32) Male / Femelle - INOX 1 1/4 " M/F 113 € En stock
28240 Vanne 1/4 de tour - 1"1/2 (DN40) Male / Femelle - INOX 1 1/2 " M/F 152 € En stock
28241 Vanne 1/4 de tour - 2" (DN50) Male / Femelle - INOX 2 " M/F 221 € En stock

Vanne 1/4 de tour VAPEUR 200° - Inox 316 - Femelle/Femelle - 714

VANNE INOX 1/4 de tour - haute température et vapeur maxi 11 bars
1/4' Femelle/ Femelle - 2 Pièces - ATEX - INOX- De -20 °C à + 200°C
Poignée + écrou : Inox 304
Pression maxi admissible : 63 bars

Vanne 1/4 de tour VAPEUR 200° - Inox 316 - Femelle/Femelle - 714
Réf. Désignation Diamètre E/S Quantite Prix H.T. Dispo
30992 Vanne 200° - 1/4 de tour - Corps INOX 316L - Femelle/Femelle - 1/4" - - Diamètre intérieur 8
Femelle/ Femelle 2 Pièces INOX
-20 °C à + 200°C - Vapeur 11 bars maxi
1/4 " F/F 52 € 5/6 jours
33328 Vanne 200° - 1/4 de tour - Corps INOX 316L - Femelle/Femelle - 3/8" - - Diamètre intérieur 12
Femelle/ Femelle 2 Pièces INOX
-20 °C à + 200°C - Vapeur 11 bars maxi
1/4 " F/F 52 € 5/6 jours
30993 Vanne 200° - 1/4 de tour - Corps INOX 316L - Femelle/Femelle - 1/2" - - Diamètre intérieur 15
Femelle/ Femelle 2 Pièces INOX
-20 °C à + 200°C - Vapeur 11 bars maxi
1/2 " F/F 56 € 5/6 jours
32157 Vanne 200° - 1/4 de tour - Corps INOX 316L - Femelle/Femelle - 3/4" - - Diamètre intérieur 20
Femelle/ Femelle 2 Pièces INOX
-20 °C à + 200°C - Vapeur 11 bars maxi
3/4 " F/F 74 € 5/6 jours
32221 Vanne 200° - 1/4 de tour - Corps INOX 316L - Femelle/Femelle - 1" - - Diamètre intérieur 25
Femelle/ Femelle 2 Pièces INOX
-20 °C à + 200°C - Vapeur 11 bars maxi
1 " F/F 106 € 5/6 jours
32877 Vanne 200° - 1/4 de tour - Corps INOX 316L - Femelle/Femelle - 1" 1/4 - - Diamètre intérieur 32
Femelle/ Femelle 2 Pièces INOX
-20 °C à + 200°C - Vapeur 11 bars maxi
1 1/4 " F/F 177 € 5/6 jours
32878 Vanne 200° - 1/4 de tour - Corps INOX 316L - Femelle/Femelle - 1" 1/2 - - Diamètre intérieur 40
Femelle/ Femelle 2 Pièces INOX
-20 °C à + 200°C - Vapeur 11 bars maxi
1 1/2 " F/F 258 € 5/6 jours

Vanne 3 voies L - Inox - Femelle/Femelle/Femelle - 180°C

Utilisation : Produits chimiques, industries pétrochimiques, installations hydrauliques, de chauffage, distribution air, eau.
PS : 40 bars - TS : -25 °C à +180 °C.
Construction :- Passage réduit - Corps Acier Inox ASTM A351 CF8M - Presse-étoupe PTFE + Joint torique FKM.
Sphère et axe inéjectable Acier Inox ASTM A182 F316.
- Sièges PTFE chargés 15 % verre - Poignée cadenassable rouge Inox 304 - Lumière en L - Platine ISO 5211.

Vanne 3 voies L - Inox - Femelle/Femelle/Femelle - 180°C
Réf. Désignation Diamètre E/S Quantite Dispo
37935 Vanne 3 voies en L - Corps INOX 316L - Femelle/Femelle/Femelle - 1/4"
- 2 pièces -25 ° C à 180 °C - Corps INOX 316L - Siège PTFE - Passage Intégral - PN = 25 - sorties en L = commun vers 1 ou 2
1/4" F/F/F 5/6 jours
37934 Vanne 3 voies en L - Corps INOX 316L - Femelle/Femelle/Femelle - 3/8"
- 2 pièces -25 ° C à 180 °C - Corps INOX 316L - Siège PTFE - Passage Intégral - PN = 25 - sorties en L = commun vers 1 ou 2
3/8" F/F/F 5/6 jours
33286 Vanne 3 voies en L - Corps INOX 316L - Femelle/Femelle/Femelle - 1/2"
- 2 pièces -25 ° C à 180 °C - Corps INOX 316L - Siège PTFE - Passage Intégral - PN = 25 - sorties en L = commun vers 1 ou 2
1/2" F/F/F 5/6 jours
31847 Vanne 3 voies en L - Corps INOX 316L - Femelle/Femelle/Femelle - 3/4"
- 2 pièces -25 ° C à 180 °C - Corps INOX 316L - Siège PTFE - Passage Intégral - PN = 25 - sorties en L = commun vers 1 ou 2
3/4" F/F/F En stock
30257 Vanne 3 voies en L - Corps INOX 316L - Femelle/Femelle/Femelle - 1"
- 2 pièces -25 ° C à 180 °C - Corps INOX 316L - Siège PTFE - Passage Intégral - PN = 25 - sorties en L = commun vers 1 ou 2
1" F/F/F En stock
35849 Vanne 3 voies en L - Corps INOX 316L - Femelle/Femelle/Femelle - 1" 1/4
- 2 pièces -25 ° C à 180 °C - Corps INOX 316L - Siège PTFE - Passage Intégral - PN = 25 - sorties en L = commun vers 1 ou 2
1" 1/4 F/F/F En stock
30635 Vanne 3 voies en L - Corps INOX 316L - Femelle/Femelle/Femelle - 1" 1/2
- 2 pièces -25 ° C à 180 °C - Corps INOX 316L - Siège PTFE - Passage Intégral - PN = 25 - sorties en L = commun vers 1 ou 2
1" 1/2 F/F/F En stock
31962 Vanne 3 voies en L - Corps INOX 316L - Femelle/Femelle/Femelle - 2"
- 2 pièces -25 ° C à 180 °C - Corps INOX 316L - Siège PTFE - Passage Intégral - PN = 25 - sorties en L = commun vers 1 ou 2
2" F/F/F 5/6 jours

Vanne 3 voies T - Inox - Femelle/Femelle/Femelle - 180°C

Utilisation : Produits chimiques, industries pétrochimiques, installations hydrauliques, de chauffage, distribution air, eau.
PS : 40 bars - TS : -25 °C à +180 °C.
Construction :- Passage réduit - Corps Acier Inox ASTM A351 CF8M - Presse-étoupe PTFE + Joint torique FKM.
Sphère et axe inéjectable Acier Inox ASTM A182 F316.
- Sièges PTFE chargés 15 % verre - Poignée cadenassable rouge Inox 304 - Lumière en T - Platine ISO 5211.

Vanne 3 voies T - Inox - Femelle/Femelle/Femelle - 180°C
Réf. Désignation Diamètre E/S Quantite Dispo
37041 Vanne 3 voies en T - Corps INOX 316L - Femelle/Femelle/Femelle - 1/4"
- 2 pièces -25 ° C à 180 °C - Corps INOX 316L - Siège PTFE - Passage Intégral - PN = 25 - sorties en T = commun vers 1 ou 2 ou les 2
1/4" F/F/F 5/6 jours
37931 Vanne 3 voies en T - Corps INOX 316L - Femelle/Femelle/Femelle - 3/8"
- 2 pièces -25 ° C à 180 °C - Corps INOX 316L - Siège PTFE - Passage Intégral - PN = 25 - sorties en T = commun vers 1 ou 2 ou les 2
3/8" F/F/F 5/6 jours
37930 Vanne 3 voies en T - Corps INOX 316L - Femelle/Femelle/Femelle - 1/2"
- 2 pièces -25 ° C à 180 °C - Corps INOX 316L - Siège PTFE - Passage Intégral - PN = 25 - sorties en T = commun vers 1 ou 2 ou les 2
1/2" F/F/F 5/6 jours
37058 Vanne 3 voies en T - Corps INOX 316L - Femelle/Femelle/Femelle - 3/4"
- 2 pièces -25 ° C à 180 °C - Corps INOX 316L - Siège PTFE - Passage Intégral - PN = 25 - sorties en T = commun vers 1 ou 2 ou les 2
3/4" F/F/F En stock
37059 Vanne 3 voies en T - Corps INOX 316L - Femelle/Femelle/Femelle - 1"
- 2 pièces -25 ° C à 180 °C - Corps INOX 316L - Siège PTFE - Passage Intégral - PN = 25 - sorties en T = commun vers 1 ou 2 ou les 2
1" F/F/F En stock
37932 Vanne 3 voies en T - Corps INOX 316L - Femelle/Femelle/Femelle - 1" 1/4
- 2 pièces -25 ° C à 180 °C - Corps INOX 316L - Siège PTFE - Passage Intégral - PN = 25 - sorties en T = commun vers 1 ou 2 ou les 2
1" 1/4 F/F/F En stock
37929 Vanne 3 voies en T - Corps INOX 316L - Femelle/Femelle/Femelle - 1" 1/2
- 2 pièces -25 ° C à 180 °C - Corps INOX 316L - Siège PTFE - Passage Intégral - PN = 25 - sorties en T = commun vers 1 ou 2 ou les 2
1" 1/2 F/F/F En stock
37933 Vanne 3 voies en T - Corps INOX 316L - Femelle/Femelle/Femelle - 2"
- 2 pièces -25 ° C à 180 °C - Corps INOX 316L - Siège PTFE - Passage Intégral - PN = 25 - sorties en T = commun vers 1 ou 2 ou les 2
2" F/F/F 5/6 jours

VANNE INOX OPERCULE

VANNE INOX OPERCULE
Réf. Désignation Diamètre E/S Quantite Dispo
32018 Vanne INOX opercule - 1/2"
PS: 16 bars TS:-20 à + 180°C - Opercule
- F/F - Passage intégral - INOX A351
Pour liquides et gaz du groupe 1
1/2 " F/F 5/6 jours
38276 Vanne INOX opercule - 3/4"
PS: 16 bars TS:-20 à + 180°C - Opercule
- F/F - Passage intégral - INOX A351
Pour liquides et gaz du groupe 1
3/4 " F/F 5/6 jours
32125 Vanne INOX opercule - 1"
PS: 16 bars TS:-20 à + 180°C - Opercule
- F/F - Passage intégral - INOX A351
Pour liquides et gaz du groupe 1
1 " F/F 5/6 jours
38267 Vanne INOX opercule - 1"1/4
PS: 16 bars TS:-20 à + 180°C - Opercule
- F/F - Passage intégral - INOX A351
Pour liquides et gaz du groupe 1
1 1/4 " F/F 5/6 jours
38277 Vanne INOX opercule - 1"1/2
PS: 16 bars TS:-20 à + 180°C - Opercule
- F/F - Passage intégral - INOX A351
Pour liquides et gaz du groupe 1
1 1/2 " F/F 5/6 jours
38278 Vanne INOX opercule - 2"
PS: 16 bars TS:-20 à + 180°C - Opercule
- F/F - Passage intégral - INOX A351
Pour liquides et gaz du groupe 1
2 " F/F 5/6 jours

Robinet à pointeau Inox - PN400 - Taraudé BSP

Monobloc - pression maxi 400 bars
Passage réduit
Matière : INOX ASTM A351 CF8M
Température : -20°C à + 180 °C
Filetage : Taraudé BSP
Conforme à la DESP 97/23/CE - ATEX Groupe II Catégorie 2 G/2D Zone 1 & 21 Zone 2 &22

Robinet à pointeau Inox - PN400 - Taraudé BSP
Réf. Désignation Diamètre E/S Quantite Prix H.T. Dispo
22962 Vanne 1/4' INOX A POINTEAU 1/4 " F/F 81 € En stock
24447 Vanne 3/8' INOX A POINTEAU 3/8 " F/F 91 € En stock
22963 Vanne 1/2' INOX A POINTEAU 1/2 " F/F 118 € En stock
28759 Vanne 3/4' INOX A POINTEAU 3/4 " F/F 168 € En stock
28250 Vanne 1' INOX A POINTEAU 1 " F/F 199 € En stock

Vanne - Inox - Male/Femelle - Douce et rapide

Fluides courants : eau, huile… Ouverture en douceur - passage lisse - température maxi 90°C

Vanne - Inox - Male/Femelle - Douce et rapide
Réf. Désignation Diamètre E/S Quantite Prix H.T. Dispo
30831 Vanne INOX DOUCE et RAPIDE - Corps INOX 304 - M/F - 1/2"- Diamètre intérieur 15
Passage lisse - Temp. 0 à 90 °C - pression maxi 12 B - INOX 304 - Filetée M/F 1/2"- DN15
1/2" M/F 116 € En stock
30833 Vanne INOX DOUCE et RAPIDE - Corps INOX 304 - M/F - 3/4"- Diamètre intérieur 20
Passage lisse - Temp. 0 à 90 °C - pression maxi 12 B - INOX 304 - Filetée M/F 3/4" - DN20
3/4" M/F 116 € En stock
30834 Vanne INOX DOUCE et RAPIDE - Corps INOX 304 - M/F - 1"
Passage lisse - Temp. 0 à 90 °C - pression maxi 12 B - INOX 304 - Filetée M/F 1" - DN25
1" M/F 171 € En stock

Vanne inox à clapet LIQUIDES EPAIS

Spécial liquide épais : Miel, Savon…

Vanne inox à clapet LIQUIDES EPAIS
Réf. Désignation Diamètre Quantite Prix H.T. Dispo
32981 Vanne à clapet pour liquides épais INOX 1"
Vanne INOX à visser BSP male 1" - Avec joint
Pour miel et liquides épais.
1" 59 € 4 en stock
31985 Vanne à clapet pour liquides épais INOX 1,5"
Vanne INOX à visser BSP male 1,5" - Avec joint
Pour miel et liquides épais.
1" 1/2 109 € 5 en stock

VANNES INOX PAPILLON SMS

SMS, Swedish Manufacturing Standard, standard suédois principalement utilisé en France, Royaume-Uni, Espagne et Maghreb.
Agro alimentaire - laiterie - Brasserie - Très répandue

VANNES INOX PAPILLON SMS
Réf. Désignation Quantite Prix H.T. Dispo
36305 Vanne papillon SMS mâles / mâles DN25 INOX 304
Livrée sans poignée
138.57 € 10 jours
36306 Vanne papillon SMS mâles / mâles DN38 INOX 304
Livrée sans poignée
166.25 € 10 jours
36307 Vanne papillon SMS mâles / mâles DN51 INOX 304
Livrée sans poignée
217.14 € 10 jours
36308 Vanne papillon SMS mâles / mâles DN63 INOX 304
Livrée sans poignée
243.22 € 10 jours
36309 Vanne papillon SMS mâles / mâles DN76 INOX 304
Livrée sans poignée
297.33 € 10 jours
36310 Vanne papillon SMS mâles / mâles DN104 INOX 304
Livrée sans poignée
347.80 € 10 jours
36311 Vanne papillon SMS mâles / mâles DN25 INOX 316L
Livrée sans poignée
171.08 € 10 jours
36312 Vanne papillon SMS mâles / mâles DN38 INOX 316L
Livrée sans poignée
219.91 € 10 jours
36313 Vanne papillon SMS mâles / mâles DN51 INOX 316L
Livrée sans poignée
247.73 € 10 jours
36314 Vanne papillon SMS mâles / mâles DN63 INOX 316L
Livrée sans poignée
370.86 € 10 jours
36315 Vanne papillon SMS mâles / mâles DN76 INOX 316L
Livrée sans poignée
441.84 € 10 jours
36316 Vanne papillon SMS mâles / mâles DN104 INOX 316L
Livrée sans poignée
669.97 € 10 jours

VANNES INOX PAPILLON DIN

DIN, Deutsche Institut für Normung, standard allemand qui est plutôt utilisé dans les pays germanophones et en Italie.
Agro alimentaire - laiterie - norme allemande - nécessite un dégagement arrière pour être démontable

VANNES INOX PAPILLON DIN
Réf. Désignation Quantite Prix H.T. Dispo
36317 Vanne papillon DIN mâles / mâles DN25 INOX 304
Livrée sans poignée
226.70 € 10 jours
36318 Vanne papillon DIN mâles / mâles DN32 INOX 304
Livrée sans poignée
178.50 € 10 jours
36319 Vanne papillon DIN mâles / mâles DN40 INOX 304
Livrée sans poignée
185.40 € 10 jours
36320 Vanne papillon DIN mâles / mâles DN50 INOX 304
Livrée sans poignée
357.81 € 10 jours
36321 Vanne papillon DIN mâles / mâles DN65 INOX 304
Livrée sans poignée
469.95 € 10 jours
36322 Vanne papillon DIN mâles / mâles DN80 INOX 304
Livrée sans poignée
587.27 € 10 jours
36323 Vanne papillon DIN mâles / mâles DN100 INOX 304
Livrée sans poignée
732.97 € 10 jours
36324 Vanne papillon DIN mâles / mâles DN25 INOX 316
Livrée sans poignée
195.58 € 10 jours
36325 Vanne papillon DIN mâles / mâles DN32 INOX 316
Livrée sans poignée
202.51 € 10 jours
36326 Vanne papillon DIN mâles / mâles DN40 INOX 316
Livrée sans poignée
215.11 € 10 jours
36327 Vanne papillon DIN mâles / mâles DN50 INOX 316
Livrée sans poignée
357.81 € 10 jours
36328 Vanne papillon DIN mâles / mâles DN65 INOX 316
Livrée sans poignée
469.95 € 10 jours
36329 Vanne papillon DIN mâles / mâles DN80 INOX 316
Livrée sans poignée
587.27 € 10 jours
36330 Vanne papillon DIN mâles / mâles DN100 INOX 316
Livrée sans poignée
916.20 € 10 jours

VANNES INOX PAPILLON MACON

MACON, qui est un standard français utilisé dans l’industrie vinicole, mais qui petit à petit est remplacé par du SMS

VANNES INOX PAPILLON MACON
Réf. Désignation Quantite Prix H.T. Dispo
36331 Vanne papillon MACON mâles / mâles DN40 INOX 304
Livrée sans poignée
222.81 € 10 jours
36332 Vanne papillon MACON mâles / mâles DN50 INOX 304
Livrée sans poignée
274.93 € 10 jours
36333 Vanne papillon MACON mâles / mâles DN60 INOX 304
Livrée sans poignée
259.14 € 10 jours
36334 Vanne papillon MACON mâles / mâles DN70 INOX 304
Livrée sans poignée
294.81 € 10 jours
36335 Vanne papillon MACON mâles / mâles DN80 INOX 304
Livrée sans poignée
715.54 € 10 jours
36336 Vanne papillon MACON mâles / mâles DN100 INOX 304
Livrée sans poignée
969.68 € 10 jours
36337 Vanne papillon MACON mâles / mâles DN40 INOX 316
Livrée sans poignée
262.15 € 10 jours
36338 Vanne papillon MACON mâles / mâles DN50 INOX 316
Livrée sans poignée
245.07 € 10 jours
36339 Vanne papillon MACON mâles / mâles DN60 INOX 316
Livrée sans poignée
391.34 € 10 jours
36340 Vanne papillon MACON mâles / mâles DN70 INOX 316
Livrée sans poignée
437.40 € 10 jours
36341 Vanne papillon MACON mâles / mâles DN80 INOX 316
Livrée sans poignée
715.54 € 10 jours
36342 Vanne papillon MACON mâles / mâles DN100 INOX 316
Livrée sans poignée
969.68 € 10 jours

VANNES INOX PAPILLON CLAMP

Le CLAMP, qui est un standard utilisé lorsque la ligne de fabrication doit être souvent démontée.
Pharmaceutique, Agro alimentaire ( La + hygiénique )

VANNES INOX PAPILLON CLAMP
Réf. Désignation Quantite Prix H.T. Dispo
36343 Vanne papillon CLAMP DN25 INOX 316L
Livrée sans poignée
300.48 € 10 jours
36344 Vanne papillon CLAMP DN38 INOX 316L
Livrée sans poignée
302.37 € 10 jours
36345 Vanne papillon CLAMP DN51 INOX 316L
Livrée sans poignée
309.33 € 10 jours
36346 Vanne papillon CLAMP DN63 INOX 316L
Livrée sans poignée
320.29 € 10 jours
36347 Vanne papillon CLAMP DN76 INOX 316L
Livrée sans poignée
528.71 € 10 jours
36348 Vanne papillon CLAMP DN104 INOX 316L
Livrée sans poignée
901.53 € 10 jours

Poignée vannes Papillon

Poignées / manettes à ajouter sur les vannes type papillon ( SMS, DIN, MACON, CLAMP )

Poignée vannes Papillon
Réf. Désignation Quantite Prix H.T. Dispo
36349 Poignée pour vanne papillon plastique
Pour SMS / DIN / MACON / CLAMP
32.38 € 10 jours
36350 Poignée pour vanne papillon INOX 304
Pour SMS / DIN / MACON / CLAMP
75.81 € 10 jours
36351 Poignée pour vanne papillon plastique DN85/104 sauf MACON
Pour SMS / DIN / CLAMP
28.46 € 10 jours
36352 Poignée pour vanne papillon INOX 304 DN85/104 sauf MACON
Pour SMS / DIN / CLAMP
109.94 € 10 jours
36353 Poignée pour vanne papillon MACON DN80/100
Pour MACON
57.58 € 10 jours
36354 Poignée pour vanne papillon MACON DN80/100
Pour MACON
79.70 € 10 jours

VANNE LAITON Oxygène, argon, azote

VANNES LAITON DEGRAISSE OXYGENE
DN 1/4″ à 2″ - Ne convient pas pour l’acétylène
Femelle – Femelle ou mâle-mâle BSP
Température Mini : – 20°C / Température Maxi : + 120°C
Pression Maxi : 40 Bars ( jusqu’au DN 1“ )
Caractéristiques : Axe inéjectable / Presse étoupe PTFE + joint torique EPDM
Passage intégral / Dégraissage oxygène / Raccordement taraudé cylindrique BSP

VANNE LAITON Oxygène, argon, azote
Réf. Désignation Diamètre E/S Quantite Prix H.T. Dispo
33187 Vanne Oxygène LAITON 1/4" FF DEGRAISSE M.PAP 1/4" F/F 29 € 10 jours
33188 Vanne Oxygène LAITON 3/8" FF DEGRAISSE M.PAP 3/8" F/F 33 € 10 jours
33189 Vanne Oxygène LAITON 1/2" FF DEGRAISSE M.PAP 1/2" F/F 35 € 10 jours
33190 Vanne Oxygène LAITON 3/4" FF DEGRAISSE M.PAP 3/4" F/F 51 € 10 jours
33191 Vanne Oxygène LAITON 1" FF DEGRAISSE M.PAP 1" F/F 65 € 10 jours

VANNE INOX Oxygène

VANNES INOX DEGRAISSE OXYGENE
DN 1/4″ à 2″ - Femelle BSP
Température mini : – 20°C / Température maxi : + 200°C
Pression Maxi 63 Bars
Caractéristiques : Pour oxygène
Sièges PTFE chargés verre - bille pleine
Axe inéjectable / Passage intégral / Poignée cadenassable
Atex / Double système antistatique
Modèle 2 pièces
Dégraissé pour oxygène

VANNE INOX Oxygène
Réf. Désignation Diamètre E/S Quantite Prix H.T. Dispo
33192 Vanne Oxygène INOX 1/4" FF DEGRAISSE 1/4" F/F 48 € 10 jours
33193 Vanne Oxygène INOX 3/8" FF DEGRAISSE 3/8" F/F 49 € 10 jours
33165 Vanne Oxygène INOX 1/2" FF DEGRAISSE 1/2" F/F 51 € 10 jours
33166 Vanne Oxygène INOX 3/4" FF DEGRAISSE 3/4" F/F 60 € 10 jours
33194 Vanne Oxygène INOX 1" FF DEGRAISSE 1" F/F 90 € 10 jours
33195 Vanne Oxygène INOX 1"1/4 FF DEGRAISSE 1"1/4 F/F 154 € 10 jours
33196 Vanne Oxygène INOX 1"1/2 FF DEGRAISSE 1"1/2 F/F 154 € 10 jours
33197 Vanne Oxygène INOX 2" FF DEGRAISSE 2" F/F 226 € 10 jours

ROBINET GAZ Tournant

Vanne à sphère de sectionnement pour les réseaux de gaz naturel
Vanne à passage intégral, bille pleine, axe inéjectable et étanchéité à l’axe par joint torique.
Modèle lourd, pour tube acier.
Dimensions : DN 1/2″ à 2″ / Raccordement : Femelle / Femelle BSP
Température Mini : – 5°C / Température Maxi : + 60°C
Pression Maxi : 5 Bars
Caractéristiques : Axe inéjectable, Double joint torique NBR, Passage intégral
Matière : Laiton CW 617N

ROBINET GAZ Tournant
Réf. Désignation Diamètre E/S Quantite Prix H.T. Dispo
31736 Vanne d'arrêt GAZ 1/2"
Homologation EN331
PS 5 bars - -5°C à + 60°C
1/2" F/F 21 € En stock
36772 Vanne d'arrêt GAZ 3/4"
Homologation EN331
PS 5 bars - -5°C à + 60°C
1/2" F/F 27 € En stock

MINI VANNES

Vanne INOX mini pour encombrement réduit
Dimensions : DN1/8″ à DN1″
Raccordement : Femelle ou Mâle BSP
Température Mini : -20°C / Température Maxi : +180°C
Pression Maxi : 63 Bars
Caractéristiques : Axe inéjectable, Construction monobloc, Passage réduit, Double joints toriques FKM à l’axe
Matière : Inox ASTM A351 CF8M

MINI VANNES
Réf. Désignation Diamètre E/S Quantite Prix H.T. Dispo
33214 Mini vanne INOX 1/8" FF 1/8" F/F 37 € 10 jours
33198 Mini vanne INOX 1/4" FF 1/4" F/F 38 € 10 jours
33199 Mini vanne INOX 3/8" FF 3/8" F/F 39 € 10 jours
32892 Mini vanne INOX 1/2" FF 1/2" F/F 40 € 10 jours
33200 Mini vanne INOX 3/4" FF 3/4" F/F 44 € 10 jours
33201 Mini vanne INOX 1" FF 1" F/F 53 € 10 jours
33202 Mini vanne INOX 1/8" MF 1/8" M/F 37 € 10 jours
33203 Mini vanne INOX 1/4" MF 1/4" M/F 38 € 10 jours
33204 Mini vanne INOX 3/8" MF 3/8" M/F 39 € 10 jours
33205 Mini vanne INOX 1/2" MF 1/2" M/F 40 € 10 jours
33206 Mini vanne INOX 3/4" MF 3/4" M/F 44 € 10 jours
33207 Mini vanne INOX 1" MF 1" M/F 49 € 10 jours
33208 Mini vanne INOX 1/8" MM 1/8" M/M 38 € 10 jours
33209 Mini vanne INOX 1/4" MM 1/4" M/M 39 € 10 jours
33210 Mini vanne INOX 3/8" MM 3/8" M/M 40 € 10 jours
33211 Mini vanne INOX 1/2" MM 1/2" M/M 42 € 10 jours
33212 Mini vanne INOX 3/4" MM 3/4" M/M 57 € 10 jours
33213 Mini vanne INOX 1" MM 1" M/M 75 € 10 jours

VANNES alimentaires ECO

VANNES alimentaires – Femelle/Femelle Vanne pour vidage de cuve alimentaire
Extérieur acier chromé - intérieur laiton
Diamètre entrée / sortie : 38 mm.

VANNES alimentaires ECO
Réf. Désignation Diamètre E/S Quantite Prix H.T. Dispo
32299 VANNE vidage cuve 1.5"
Grand débit pour vidage cuves, marmites. Acier chromé et intérieur laiton - coudée
1"1/2 F 119 € En stock

OPTIONS pour CUVES INOX

Certaines options ne sont pas disponibles pour tous les modeles de cuves

Indicateurs à hublot

Permet de visualiser le contenu d’une cuve, un niveau. Peut se souder ou se visser sur le dessus ou les parois d’une cuve

Indicateurs à hublot
Référ. Désignation Quantite Délai moyen
31277 Indicateur à hublot verre - Diamètre intérieur 65
Permet de visualiser le produit dans la cuve
5/7 semaines
31278 Indicateur à hublot verre - Diamètre intérieur 80
Permet de visualiser le produit dans la cuve
5/7 semaines

MIREUR VERRE

Permet de visualiser le liquide stocké ou circulant dans les tuyauteries

MIREUR VERRE
Référ. Désignation Quantite Prix H.T. Délai moyen
31933 Mireur verre - Voyant de circulation - Diamètre intérieur 25 - 1"
Verre + INOX 316L - alimentaire - taraudé BSP F/F 1"
95 € en stock
31933+2T Mireur verre - Voyant de circulation - Diamètre intérieur 25 - 1" + 2 raccords annelés
Verre + INOX 316L - alimentaire - taraudé BSP F/F 1"
125 € en stock
31937 Mireur verre - Voyant de circulation - Diamètre intérieur 50 - 2"
Verre + INOX 316L - alimentaire - taraudé BSP F/F 2"
129 € en stock
31937+2T Mireur verre - Voyant de circulation - Diamètre intérieur 50 - 2" + 2 raccords annelés
Verre + INOX 316L - alimentaire - taraudé BSP F/F 2"
209 € en stock

VANNES INOX PAPILLON SMS

SMS, Swedish Manufacturing Standard, standard suédois principalement utilisé en France, Royaume-Uni, Espagne et Maghreb.
Agro alimentaire - laiterie - Brasserie - Très répandue

VANNES INOX PAPILLON SMS
Réf. Désignation Quantite Prix H.T. Dispo
36305 Vanne papillon SMS mâles / mâles DN25 INOX 304
Livrée sans poignée
138.57 € 10 jours
36306 Vanne papillon SMS mâles / mâles DN38 INOX 304
Livrée sans poignée
166.25 € 10 jours
36307 Vanne papillon SMS mâles / mâles DN51 INOX 304
Livrée sans poignée
217.14 € 10 jours
36308 Vanne papillon SMS mâles / mâles DN63 INOX 304
Livrée sans poignée
243.22 € 10 jours
36309 Vanne papillon SMS mâles / mâles DN76 INOX 304
Livrée sans poignée
297.33 € 10 jours
36310 Vanne papillon SMS mâles / mâles DN104 INOX 304
Livrée sans poignée
347.80 € 10 jours
36311 Vanne papillon SMS mâles / mâles DN25 INOX 316L
Livrée sans poignée
171.08 € 10 jours
36312 Vanne papillon SMS mâles / mâles DN38 INOX 316L
Livrée sans poignée
219.91 € 10 jours
36313 Vanne papillon SMS mâles / mâles DN51 INOX 316L
Livrée sans poignée
247.73 € 10 jours
36314 Vanne papillon SMS mâles / mâles DN63 INOX 316L
Livrée sans poignée
370.86 € 10 jours
36315 Vanne papillon SMS mâles / mâles DN76 INOX 316L
Livrée sans poignée
441.84 € 10 jours
36316 Vanne papillon SMS mâles / mâles DN104 INOX 316L
Livrée sans poignée
669.97 € 10 jours

VANNES INOX PAPILLON DIN

DIN, Deutsche Institut für Normung, standard allemand qui est plutôt utilisé dans les pays germanophones et en Italie.
Agro alimentaire - laiterie - norme allemande - nécessite un dégagement arrière pour être démontable

VANNES INOX PAPILLON DIN
Réf. Désignation Quantite Prix H.T. Dispo
36317 Vanne papillon DIN mâles / mâles DN25 INOX 304
Livrée sans poignée
226.70 € 10 jours
36318 Vanne papillon DIN mâles / mâles DN32 INOX 304
Livrée sans poignée
178.50 € 10 jours
36319 Vanne papillon DIN mâles / mâles DN40 INOX 304
Livrée sans poignée
185.40 € 10 jours
36320 Vanne papillon DIN mâles / mâles DN50 INOX 304
Livrée sans poignée
357.81 € 10 jours
36321 Vanne papillon DIN mâles / mâles DN65 INOX 304
Livrée sans poignée
469.95 € 10 jours
36322 Vanne papillon DIN mâles / mâles DN80 INOX 304
Livrée sans poignée
587.27 € 10 jours
36323 Vanne papillon DIN mâles / mâles DN100 INOX 304
Livrée sans poignée
732.97 € 10 jours
36324 Vanne papillon DIN mâles / mâles DN25 INOX 316
Livrée sans poignée
195.58 € 10 jours
36325 Vanne papillon DIN mâles / mâles DN32 INOX 316
Livrée sans poignée
202.51 € 10 jours
36326 Vanne papillon DIN mâles / mâles DN40 INOX 316
Livrée sans poignée
215.11 € 10 jours
36327 Vanne papillon DIN mâles / mâles DN50 INOX 316
Livrée sans poignée
357.81 € 10 jours
36328 Vanne papillon DIN mâles / mâles DN65 INOX 316
Livrée sans poignée
469.95 € 10 jours
36329 Vanne papillon DIN mâles / mâles DN80 INOX 316
Livrée sans poignée
587.27 € 10 jours
36330 Vanne papillon DIN mâles / mâles DN100 INOX 316
Livrée sans poignée
916.20 € 10 jours

VANNES INOX PAPILLON MACON

MACON, qui est un standard français utilisé dans l’industrie vinicole, mais qui petit à petit est remplacé par du SMS

VANNES INOX PAPILLON MACON
Réf. Désignation Quantite Prix H.T. Dispo
36331 Vanne papillon MACON mâles / mâles DN40 INOX 304
Livrée sans poignée
222.81 € 10 jours
36332 Vanne papillon MACON mâles / mâles DN50 INOX 304
Livrée sans poignée
274.93 € 10 jours
36333 Vanne papillon MACON mâles / mâles DN60 INOX 304
Livrée sans poignée
259.14 € 10 jours
36334 Vanne papillon MACON mâles / mâles DN70 INOX 304
Livrée sans poignée
294.81 € 10 jours
36335 Vanne papillon MACON mâles / mâles DN80 INOX 304
Livrée sans poignée
715.54 € 10 jours
36336 Vanne papillon MACON mâles / mâles DN100 INOX 304
Livrée sans poignée
969.68 € 10 jours
36337 Vanne papillon MACON mâles / mâles DN40 INOX 316
Livrée sans poignée
262.15 € 10 jours
36338 Vanne papillon MACON mâles / mâles DN50 INOX 316
Livrée sans poignée
245.07 € 10 jours
36339 Vanne papillon MACON mâles / mâles DN60 INOX 316
Livrée sans poignée
391.34 € 10 jours
36340 Vanne papillon MACON mâles / mâles DN70 INOX 316
Livrée sans poignée
437.40 € 10 jours
36341 Vanne papillon MACON mâles / mâles DN80 INOX 316
Livrée sans poignée
715.54 € 10 jours
36342 Vanne papillon MACON mâles / mâles DN100 INOX 316
Livrée sans poignée
969.68 € 10 jours

VANNES INOX PAPILLON CLAMP

Le CLAMP, qui est un standard utilisé lorsque la ligne de fabrication doit être souvent démontée.
Pharmaceutique, Agro alimentaire ( La + hygiénique )

VANNES INOX PAPILLON CLAMP
Réf. Désignation Quantite Prix H.T. Dispo
36343 Vanne papillon CLAMP DN25 INOX 316L
Livrée sans poignée
300.48 € 10 jours
36344 Vanne papillon CLAMP DN38 INOX 316L
Livrée sans poignée
302.37 € 10 jours
36345 Vanne papillon CLAMP DN51 INOX 316L
Livrée sans poignée
309.33 € 10 jours
36346 Vanne papillon CLAMP DN63 INOX 316L
Livrée sans poignée
320.29 € 10 jours
36347 Vanne papillon CLAMP DN76 INOX 316L
Livrée sans poignée
528.71 € 10 jours
36348 Vanne papillon CLAMP DN104 INOX 316L
Livrée sans poignée
901.53 € 10 jours

Poignée vannes Papillon

Poignées / manettes à ajouter sur les vannes type papillon ( SMS, DIN, MACON, CLAMP )

Poignée vannes Papillon
Réf. Désignation Quantite Prix H.T. Dispo
36349 Poignée pour vanne papillon plastique
Pour SMS / DIN / MACON / CLAMP
32.38 € 10 jours
36350 Poignée pour vanne papillon INOX 304
Pour SMS / DIN / MACON / CLAMP
75.81 € 10 jours
36351 Poignée pour vanne papillon plastique DN85/104 sauf MACON
Pour SMS / DIN / CLAMP
28.46 € 10 jours
36352 Poignée pour vanne papillon INOX 304 DN85/104 sauf MACON
Pour SMS / DIN / CLAMP
109.94 € 10 jours
36353 Poignée pour vanne papillon MACON DN80/100
Pour MACON
57.58 € 10 jours
36354 Poignée pour vanne papillon MACON DN80/100
Pour MACON
79.70 € 10 jours

MIREUR VERRE

MIREUR VERRE

Permet de visualiser le liquide stocké ou circulant dans les tuyauteries

MIREUR VERRE
Référ. Désignation Quantite Prix H.T. Délai moyen
31933 Mireur verre - Voyant de circulation - Diamètre intérieur 25 - 1"
Verre + INOX 316L - alimentaire - taraudé BSP F/F 1"
95 € en stock
31933+2T Mireur verre - Voyant de circulation - Diamètre intérieur 25 - 1" + 2 raccords annelés
Verre + INOX 316L - alimentaire - taraudé BSP F/F 1"
125 € en stock
31937 Mireur verre - Voyant de circulation - Diamètre intérieur 50 - 2"
Verre + INOX 316L - alimentaire - taraudé BSP F/F 2"
129 € en stock
31937+2T Mireur verre - Voyant de circulation - Diamètre intérieur 50 - 2" + 2 raccords annelés
Verre + INOX 316L - alimentaire - taraudé BSP F/F 2"
209 € en stock

Veuillez compléter vos informations

Les champs indiqués par une * sont obligatoires
Statut *
Informations
Adresse de facturation
Adresse de livraison
Numéro client AURA
Conditions Générales de Ventes
Confidentialité des données clients
Cliquez sur votre choix